专利状态
一种高温瞬时灭菌器的提速装置
专利申请进度
申请
2016-12-31
授权
2017-10-13
预估到期
2026-12-31
专利基础信息
申请号 申请日
授权公布号 授权公告日
分类号
分类
申请人名称 广州珠江美乐多饮品(香港)有限公司
申请人地址
专利法律状态
  • 2017-10-13
    授权
    状态信息
    授权
摘要
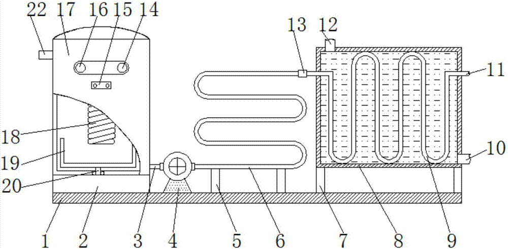
本实用新型公开了一种高温瞬时灭菌器的提速装置,包括承载板,所述承载板的顶部从左至右依次固定连接有机壳、水泵、第一支撑腿和第二支撑腿,所述机壳内腔底部的右侧固定连接有电机箱,所述电机箱内壁的底部固定连接有电动机,电动机的转轴上套设有主动齿轮。本实用新型通过设置保温蛇形管、冷却箱、冷却蛇形管、控制器、搅拌架、旋转轴、保温套、电动机、主动齿轮和从动齿轮,解决了现有的高温瞬时灭菌器工作效率低的问题,该高温瞬时灭菌器的提速装置,加热棒在加热的同时,搅拌架可对加热箱内的液体进行搅拌,增加了液体的受热效率,通过保温蛇形管和冷却蛇形管的配合使用,延长了蛇形管的长度,从而提高了工作效率。

返回首页 | 品牌大全 | 品牌排行 | 品牌问答 | 品牌资讯 | 品牌价值 | 关于我们 | 联系我们 | 免责声明

Copyright 2013-2020 品牌门户,牌子123(www.paizi123.cn) 版权所有 备案号:苏ICP备13009020号-7

网站地图