专利状态
一种酸奶生产车间集水槽
专利申请进度
申请
2019-06-13
授权
2020-04-21
预估到期
2029-06-13
专利基础信息
申请号 申请日
授权公布号 授权公告日
分类号
分类
申请人名称 邢台德玉泉食品有限公司
申请人地址
专利法律状态
  • 2020-04-21
    授权
    状态信息
    授权
摘要
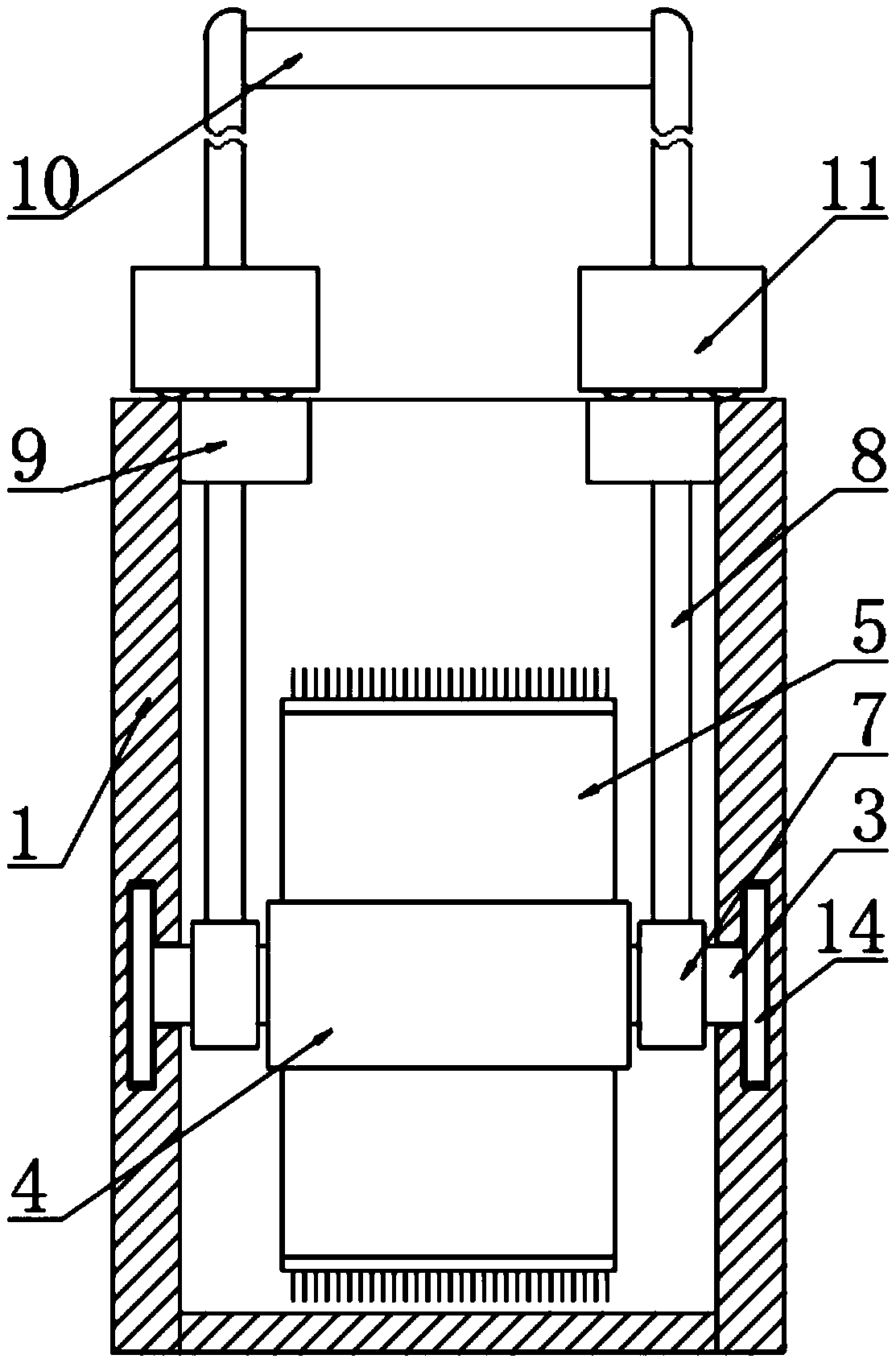
本实用新型公开了一种酸奶生产车间集水槽,包括水槽,水槽内壁的两侧上均开设有第一滑槽,水槽的内腔中设置有滑杆,滑杆的外壁固定套接有滚筒,滚筒的外壁上等距连接有至少三个搅拌板,搅拌板的一侧固定连接有毛刷,滑杆的外壁上且位于滚筒的两侧均转动套接有转轴,转轴的顶端固定连接有支撑杆,水槽内壁顶部的两侧均固定连接有顶板,支撑杆与顶板滑动穿插连接。本实用新型利用滚筒和搅拌板相配合的设置方式,通过推动支撑杆在顶板的限位下滑动,再配合积淀在水槽底部酸奶的阻力,给毛刷以切向力,使滚筒带动搅拌板以滑杆为轴向进行相对转动,对沉积在水槽内腔底部的酸奶进行搅拌和刷洗,使酸奶和污水一起变为悬浊液流出。

返回首页 | 品牌大全 | 品牌排行 | 品牌问答 | 品牌资讯 | 品牌价值 | 关于我们 | 联系我们 | 免责声明

Copyright 2013-2020 品牌门户,牌子123(www.paizi123.cn) 版权所有 备案号:苏ICP备13009020号-7

网站地图