专利状态
一种酸奶生产用无菌空气过滤器
专利申请进度
申请
2019-06-13
授权
2020-04-21
预估到期
2029-06-13
专利基础信息
申请号 申请日
授权公布号 授权公告日
分类号
分类
申请人名称 邢台德玉泉食品有限公司
申请人地址
专利法律状态
  • 2020-04-21
    授权
    状态信息
    授权
摘要
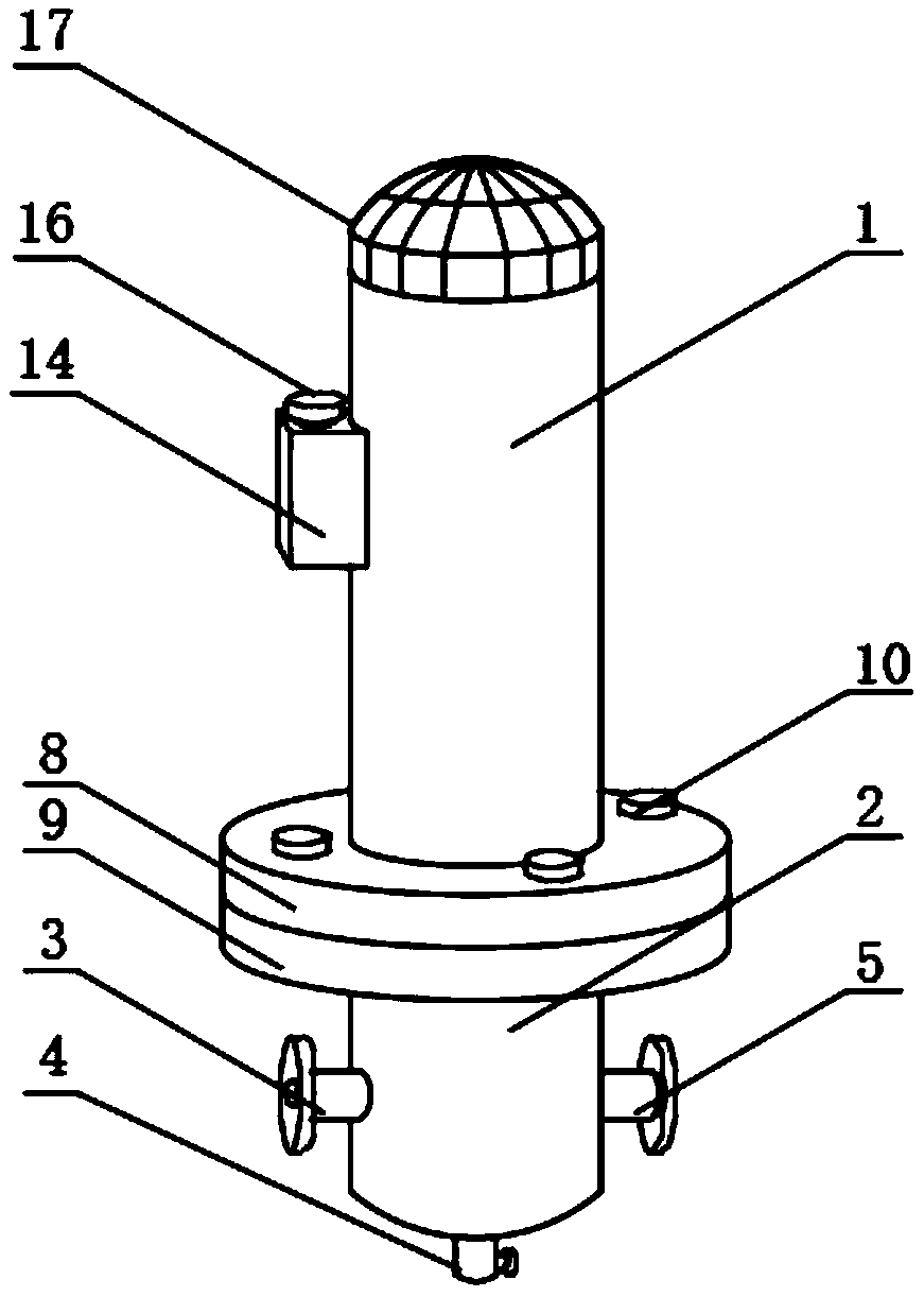
本实用新型公开了一种酸奶生产用无菌空气过滤器,包括上部壳体与下部壳体,所述下部壳体的内侧外表面设置有支架,所述支架的内侧设置有滤芯,所述滤芯的上端设置有限位顶板,所述限位顶板与滤芯之间设置有软垫块,所述限位顶板的上端外表面设置有压缩弹簧,所述上部壳体的一侧外表面设置有储药箱,所述储药箱的靠近上部壳体内侧的外表面设置有防漏网。本实用新型为一种酸奶生产用无菌空气过滤器,通过设置有压缩弹簧、软垫块与限位顶板,位于上部壳体内侧的滤芯较为稳定,不易使滤芯晃动脱落或者损坏,通过设置有储药箱、防漏网与密封盖,具备除湿的效果,对于上部壳体的顶端具备较好的保护效果。

返回首页 | 品牌大全 | 品牌排行 | 品牌问答 | 品牌资讯 | 品牌价值 | 关于我们 | 联系我们 | 免责声明

Copyright 2013-2020 品牌门户,牌子123(www.paizi123.cn) 版权所有 备案号:苏ICP备13009020号-7

网站地图