专利状态
PVC板用粉料贮存仓及其控制方法
专利申请进度
申请
2015-09-09
申请公布
2015-11-25
授权
2017-05-24
预估到期
2035-09-09
专利基础信息
申请号 申请日
授权公布号 授权公告日
分类号
分类
申请人名称 安徽天润塑业有限公司
申请人地址
专利法律状态
  • 2020-03-31
    专利申请权、专利权的转移
    状态信息
    专利权的转移;IPC(主分类):B65G 65/46;专利号:ZL2015105686407;登记生效日:20200312;变更事项:专利权人;变更前权利人:安徽可尔海思塑业有限公司;变更后权利人:安徽天润塑业有限公司;变更事项:地址;变更前权利人:238100 安徽省马鞍山市含山县褒禅山经济园区兴业路18号G2栋;变更后权利人:238200 安徽省马鞍山市和县乌江镇黄坝行政村
  • 2020-01-24
    专利申请权、专利权的转移
    状态信息
    专利权的转移;IPC(主分类):B65G 65/46;专利号:ZL2015105686407;登记生效日:20200106;变更事项:专利权人;变更前权利人:安徽天润塑业有限公司;变更后权利人:安徽可尔海思塑业有限公司;变更事项:地址;变更前权利人:243000 安徽省马鞍山市和县乌江镇黄坝;变更后权利人:238100 安徽省马鞍山市含山县褒禅山经济园区兴业路18号G2栋
  • 2017-05-24
    发明专利权授予
    状态信息
    授权
  • 2015-12-23
    实质审查的生效
    状态信息
    实质审查的生效;IPC(主分类):B65G 65/46;申请日:20150909
  • 2015-11-25
    发明专利申请公布
    状态信息
    公布
摘要
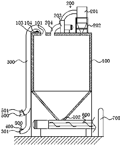
本发明公开了一种PVC板用粉料贮存仓及其控制方法。该贮存仓包括仓体,其具有进料口和出料口;收尘装置,具有一袋收尘器,袋收尘器与仓体连接连通;进料管,其上端与仓体进料口连接连通,下端管口内置温度传感器,进料管体上连接有冷气输送管,冷气输送管上设有电控闸阀;螺旋输送机,与出料口相接连通;以及电控装置,分别与袋收尘器、温度传感器、电控闸阀、螺旋输送机电气连接。收尘装置的风机的工作,使得仓体内形成负压,进料管管口形成巨大的吸力,粉料直接被吸进到进料管中,并与冷气输送管输送过来的冷气相混合,实现热交换,粉料的入仓温度控制在20‑30℃,改善了粉料的贮存条件。

返回首页 | 品牌大全 | 品牌排行 | 品牌问答 | 品牌资讯 | 品牌价值 | 关于我们 | 联系我们 | 免责声明

Copyright 2013-2020 品牌门户,牌子123(www.paizi123.cn) 版权所有 备案号:苏ICP备13009020号-7

网站地图