专利状态
一种糕饼烤炉
专利申请进度
申请
2020-06-08
授权
2021-02-19
预估到期
2030-06-08
专利基础信息
申请号 申请日
授权公布号 授权公告日
分类号
分类
申请人名称 昆明金桂坊饼业有限公司
申请人地址
专利法律状态
  • 2021-02-19
    授权
    状态信息
    授权
摘要
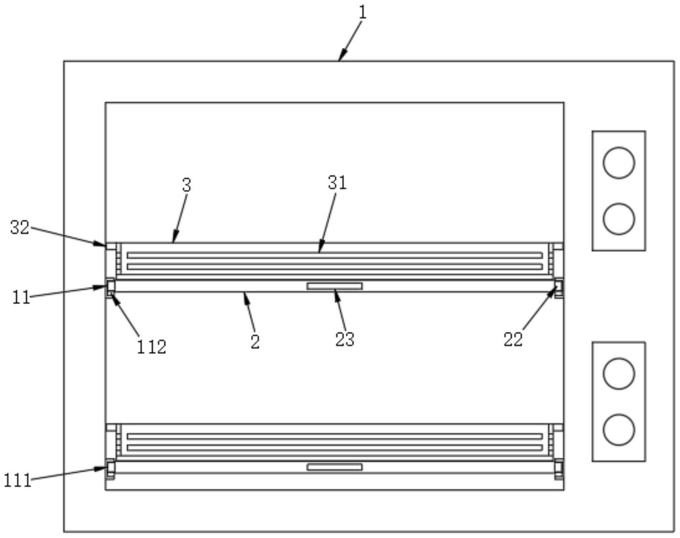
本实用新型属于烤炉领域,尤其为一种糕饼烤炉,包括炉体,所述炉体左右两侧内壁均固定连接有两个呈对称分布的托块,水平的两个所述托块之间滑动安装有网板,水平的两个所述托块相对的一侧均开设有卡槽,所述卡槽外侧端具有开口,所述网板左右两端均固定连接有卡块,两个所述卡块分别滑动安装在两个所述卡槽内部,本实用新型在炉体内部设置有四个呈对称分布的托块,处于水平状态的两个托块之间设置有可以前后移动的网板,烤盘放在网板上方,前后移动网板即可调整网板的位置,烘烤完成后可以将烤盘移动到炉体外再将烤盘取下,不需要工人将手臂一起伸入到炉体内部来捏住烤盘,可以有效的减少烫伤的情况,对工人进行保护。  

返回首页 | 品牌大全 | 品牌排行 | 品牌问答 | 品牌资讯 | 品牌价值 | 关于我们 | 联系我们 | 免责声明

Copyright 2013-2020 品牌门户,牌子123(www.paizi123.cn) 版权所有 备案号:苏ICP备13009020号-7

网站地图