专利状态
一种人力迷你剪叉车底盘
专利申请进度
申请
2019-08-23
授权
2020-06-16
预估到期
2029-08-23
专利基础信息
申请号 申请日
授权公布号 授权公告日
分类号
分类
申请人名称 美通重工有限公司
申请人地址
专利法律状态
  • 2020-06-16
    授权
    状态信息
    授权
摘要
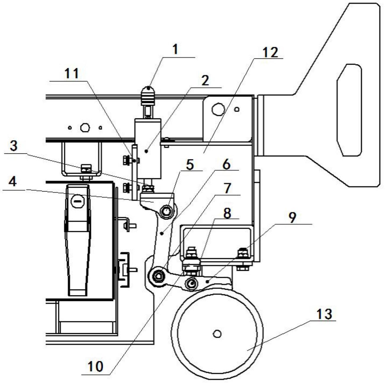
本实用新型公开一种人力迷你剪叉车底盘,包括:底盘本体、脚轮、弹力装置、刹车传动装置和刹车片,所述弹力装置一侧与所述底盘本体固定连接,所述弹力装置的顶端超出所述底盘本体的顶端水平面预定的距离,所述刹车传动装置一端与所述弹力装置的底端连接,所述刹车传动装置与所述刹车片远离所述脚轮的一端活动连接,所述刹车片设置于所述脚轮上方,还包括固定件,所述固定件的一端与所述底盘本体固定连接,所述固定件的另一端通过第一销轴与所述刹车片活动连接,所述刹车片靠近所述脚轮的一侧与所述脚轮抵接。本实用新型结构简单、可自动驻车,避免了人力迷你剪叉车工作时发生事故的可能,提升人力迷你剪叉车的安全性。  

返回首页 | 品牌大全 | 品牌排行 | 品牌问答 | 品牌资讯 | 品牌价值 | 关于我们 | 联系我们 | 免责声明

Copyright 2013-2020 品牌门户,牌子123(www.paizi123.cn) 版权所有 备案号:苏ICP备13009020号-7

网站地图