专利状态
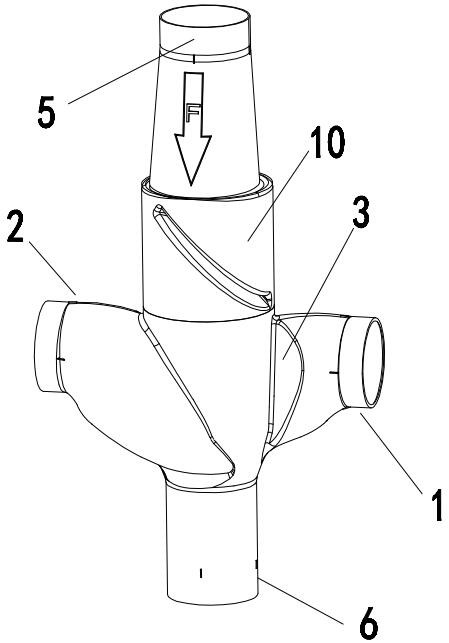
带挡水面的排水管件
专利申请进度
申请
2022-08-11
授权
2023-01-10
预估到期
2032-08-11
专利基础信息
申请号 申请日
授权公布号 授权公告日
分类号
分类
申请人名称 宁波世诺卫浴有限公司
申请人地址
专利法律状态
  • 2023-01-10
    授权
    状态信息
    授权
摘要
带挡水面的排水管件,包括排水立管和与排水立管分别连通的二个相对的横向支管,每个横向支管的进水通道上设置挡水面,挡水面内侧的垂直端部超过排水立管的垂直中心线,二个挡水面的挡水方向相反。本实用新型由于每个横向支管其内部设置的挡水面端部均超过了排水立管垂直中心线且二个挡水面的挡水方向相反,因此,其中一个横向支管的排水接口进行正常排水时,其排入到该横向支管内的水流均不会冲入到对面横向支管内。而二个横向支管进水时,则相互不影响而不会产生气塞,也不会影响整个排水管件的排水能力。

返回首页 | 品牌大全 | 品牌排行 | 品牌问答 | 品牌资讯 | 品牌价值 | 关于我们 | 联系我们 | 免责声明

Copyright 2013-2020 品牌门户,牌子123(www.paizi123.cn) 版权所有 备案号:苏ICP备13009020号-7

网站地图