专利状态
一种锥形甜筒料理装置
专利申请进度
申请
2020-08-28
授权
2021-06-01
预估到期
2030-08-28
专利基础信息
申请号 申请日
授权公布号 授权公告日
分类号
分类
申请人名称 武汉真巧食品有限公司
申请人地址
专利法律状态
  • 2023-09-08
    专利权的终止
    状态信息
    未缴年费专利权终止;IPC(主分类):B65B 35/24;专利号:ZL2020218492321;申请日:20200828;授权公告日:20210601;终止日期:
  • 2021-06-01
    授权
    状态信息
    授权
摘要
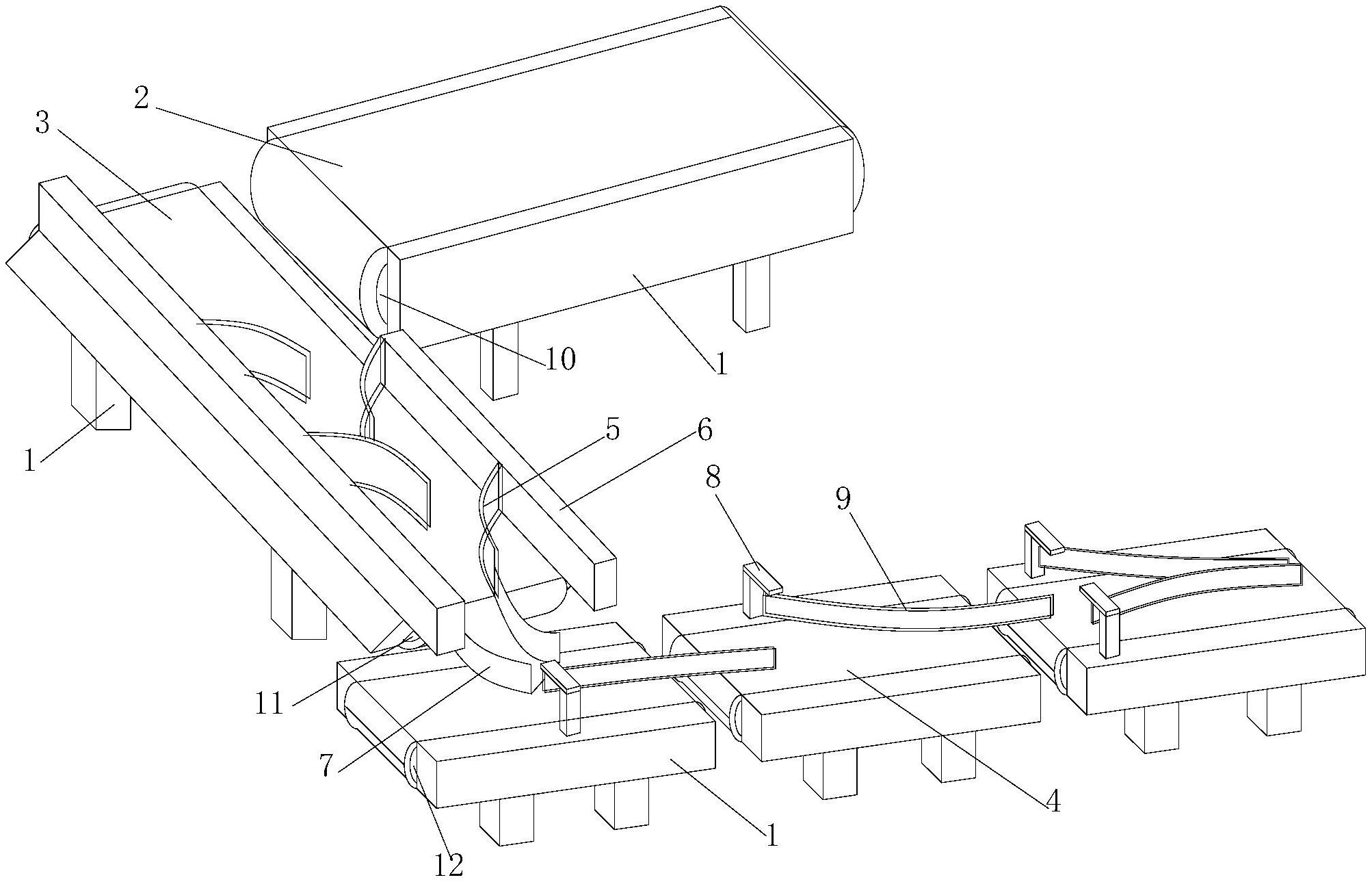
本实用新型公开了一种锥形甜筒料理装置,包括可在运动过程中使锥形甜筒大头朝上均匀进入包装机的传送料理装置、可将锥形甜筒均匀送入传送料理装置输入端的间断性送料装置、支撑主体,传送料理装置、间断性送料装置均固定连接在支撑主体上,传送料理装置输入端与间断性送料装置输出端连接;间断性送料装置包括第一传送带、间断性带动第一传送带运动的第一驱动组件,第一驱动组件位于第一传送带内侧两端;传送料理装置包括呈斜坡状排布的传送装置、可将锥形甜筒向传送装置传送面中间聚拢的挡板装置,挡板装置连接在传送装置两侧;与人工放饼相比提升了生产效率,减轻了人工劳动强度,降低了人工成本及人员手工放饼存在的产品交叉污染的隐患。  

返回首页 | 品牌大全 | 品牌排行 | 品牌问答 | 品牌资讯 | 品牌价值 | 关于我们 | 联系我们 | 免责声明

Copyright 2013-2020 品牌门户,牌子123(www.paizi123.cn) 版权所有 备案号:苏ICP备13009020号-7

网站地图