专利状态
刀具集成收纳盒
专利申请进度
申请
2018-03-27
授权
2019-02-22
预估到期
2028-03-27
专利基础信息
申请号 申请日
授权公布号 授权公告日
分类号
分类
申请人名称 苏州科逸住宅设备股份有限公司
申请人地址
专利法律状态
  • 2019-02-22
    授权
    状态信息
    授权
摘要
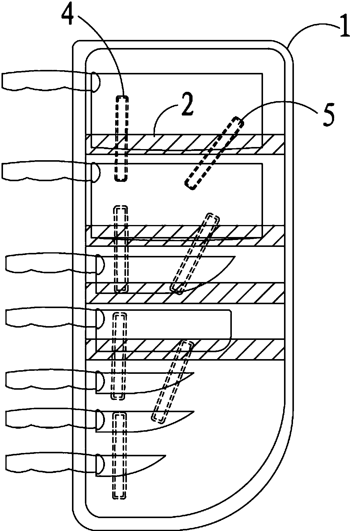
本实用新型提供一种刀具集成收纳盒,其包括:盒体、集成设置于所述盒体中的磁性件和保护壳;所述盒体具有底壁以及由所述底壁四周延伸而出的侧壁,所述盒体具有多个刀具收纳位,任一收纳位上设置有开设于所述侧壁上的卡槽,所述卡槽形成对其上刀具手柄的固定,所述磁性件位于所述盒体中的底壁上,所述磁性件对刀具提供磁性吸附作用力,所述保护壳按照所述收纳位的分布间隔设置,任一所述保护壳位于所述磁性件的上方,所述保护壳遮挡对应收纳位上刀具的刃口。本实用新型的刀具集成收纳盒能够实现厨房多把刀具的集成收纳,且其可采用悬挂的方式放置,避免占用操作台上的操作空间。

返回首页 | 品牌大全 | 品牌排行 | 品牌问答 | 品牌资讯 | 品牌价值 | 关于我们 | 联系我们 | 免责声明

Copyright 2013-2020 品牌门户,牌子123(www.paizi123.cn) 版权所有 备案号:苏ICP备13009020号-7

网站地图