专利状态
一种耐磨双层静音地板
专利申请进度
申请
2020-09-04
授权
2021-08-24
预估到期
2030-09-04
专利基础信息
申请号 申请日
授权公布号 授权公告日
分类号
分类
申请人名称 财纳福诺木业(中国)有限公司
申请人地址
专利法律状态
  • 2021-08-24
    授权
    状态信息
    授权
摘要
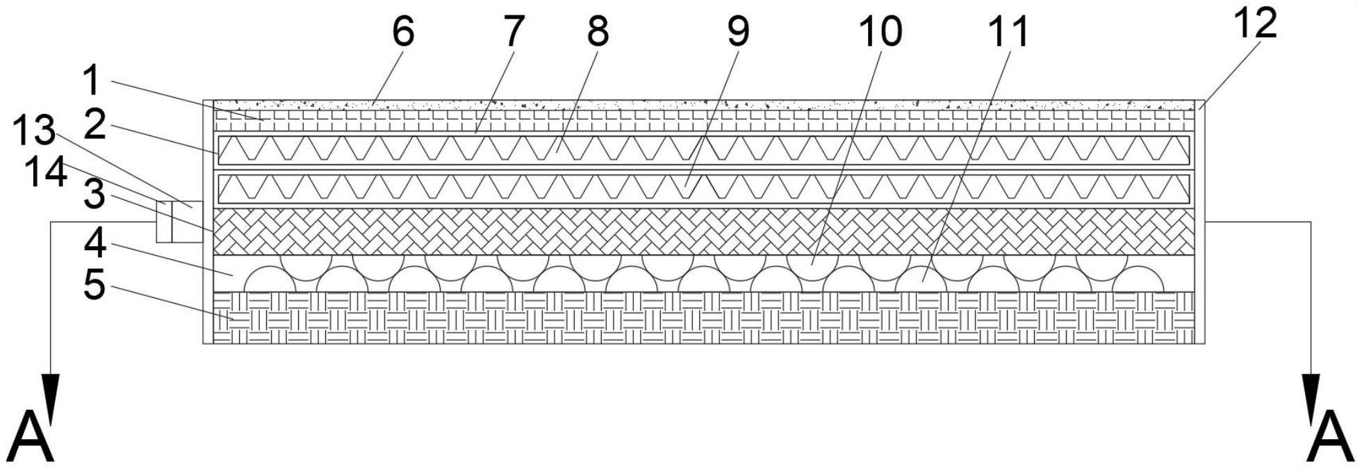
一种耐磨双层静音地板,包括耐磨层,所述的耐磨层设置成地板的表层,所述的耐磨层表面固定设有三氧化二铝涂层,所述的耐磨层远离所述的三氧化二铝涂层的一侧固定设有上下对称的静音层,所述的静音层之间粘接固定,所述的静音层的外层设有穿孔木板层,所述的穿孔木板层的上下表面设有多个微孔,所述的静音层远离所述的耐磨层的一侧固定设有软木层。本实用新型通过将静音层叠加设置形成双层静音结构,通过在静音层内设有上层玻璃棉和下层玻璃棉,将地板本体上传导下来的噪音进行吸收,使用不同容重的玻璃棉叠加在一起,形成容重逐渐增大的形式,使得地板具有更好的吸声效果。

返回首页 | 品牌大全 | 品牌排行 | 品牌问答 | 品牌资讯 | 品牌价值 | 关于我们 | 联系我们 | 免责声明

Copyright 2013-2020 品牌门户,牌子123(www.paizi123.cn) 版权所有 备案号:苏ICP备13009020号-7

网站地图