专利状态
一种复合绝缘子金具注胶定位机构
专利申请进度
申请
2017-07-25
申请公布
2017-10-20
授权
2023-09-08
预估到期
2037-07-25
专利基础信息
申请号 申请日
授权公布号 授权公告日
分类号
分类
申请人名称 江苏祥源电气设备有限公司
申请人地址
专利法律状态
  • 2023-09-08
    授权
    状态信息
    授权
  • 2017-11-17
    实质审查的生效
    状态信息
    实质审查的生效;IPC(主分类):H01B19/00;申请日:20170725
  • 2017-10-20
    公布
    状态信息
    公布
摘要
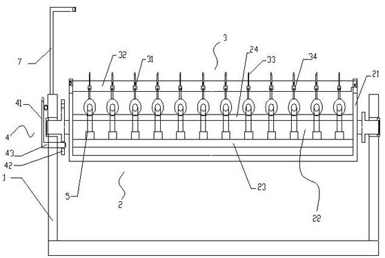
本发明涉及一种复合绝缘子金具注胶定位机构,其特征在于:包括支撑架,复合绝缘子定位架和复合绝缘子金具定位架;通过设置在复合绝缘定位架和复合绝缘子金具定位架上设置有多个工位可一次完成多个复合绝缘子金具在复合绝缘子上的注胶,提高了复合绝缘子金具在复合绝缘子上注胶的效率;在支撑架上精确定位复合绝缘子定位架和复合绝缘子金具定位架的相对位置,保证了在复合绝缘子上注胶复合绝缘子金具的精确度;复合绝缘子定位架与支撑架之间通过轴承结构相连且通过定位装置限制复合绝缘子定位架的转动,便于复合绝缘子在复合绝缘子定位架上的安装。

返回首页 | 品牌大全 | 品牌排行 | 品牌问答 | 品牌资讯 | 品牌价值 | 关于我们 | 联系我们 | 免责声明

Copyright 2013-2020 品牌门户,牌子123(www.paizi123.cn) 版权所有 备案号:苏ICP备13009020号-7

网站地图