专利状态
一种空心复合绝缘子烘干系统
专利申请进度
申请
2018-09-30
授权
2019-04-16
预估到期
2028-09-30
专利基础信息
申请号 申请日
授权公布号 授权公告日
分类号
分类
申请人名称 江苏祥源电气设备有限公司
申请人地址
专利法律状态
  • 2023-10-17
    专利权的终止
    状态信息
    未缴年费专利权终止;IPC(主分类):H01B 19/02;专利号:ZL2018216131340;申请日:20180930;授权公告日:20190416;终止日期:
  • 2019-04-16
    授权
    状态信息
    授权
摘要
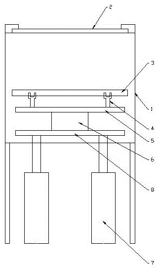
本实用新型涉及一种空心复合绝缘子烘干系统,包括一烘箱,该烘箱为一空心结构,在烘箱内设置有加热器;一与烘箱配合的箱盖,所述箱盖由两个对称分布的盖板共同组成,在两个盖板相邻一侧的中部位置均开有一半圆状凹槽,并在两个盖板合并后,两个凹槽共同构成一通气孔;一安装在烘箱内的支撑台,所述支撑台呈栅栏状,并由一回转机构带动进行自转。本实用新型的优点在于:通过回转机构的设置,工件在烘箱内烘干的过程中可以进行360°自由旋转,使得工件各个部位都能够得到很好的烘干,提高了烘干效果。

返回首页 | 品牌大全 | 品牌排行 | 品牌问答 | 品牌资讯 | 品牌价值 | 关于我们 | 联系我们 | 免责声明

Copyright 2013-2020 品牌门户,牌子123(www.paizi123.cn) 版权所有 备案号:苏ICP备13009020号-7

网站地图