专利状态
一种特高压加大伞群注射修补系统
专利申请进度
申请
2015-08-21
申请公布
2015-10-28
授权
2018-03-23
预估到期
2035-08-21
专利基础信息
申请号 申请日
授权公布号 授权公告日
分类号
分类
申请人名称 江苏祥源电气设备有限公司
申请人地址
专利法律状态
  • 2018-03-23
    授权
    状态信息
    授权
  • 2015-11-25
    实质审查的生效
    状态信息
    实质审查的生效IPC(主分类):B29C 73/02申请日:20150821
  • 2015-10-28
    公布
    状态信息
    公开
摘要
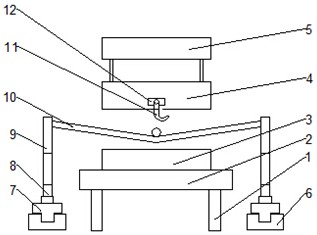
本发明涉及一种特高压加大伞群注射修补系统,包括注射机,该注射机用于对复合绝缘子芯棒外表面的伞群进行注射修补;注射机包括水平设置且通过支撑脚固定安装的下模板,该下模板上端面水平设置安装有一下模;下模正上方安装有一水平设置的上模板,且在上模板下端设置有一位于下模正上方的上模;上模沿复合绝缘子轴向两端分别设置有一勾取装置,且在注射机前端还设置有一自动输送装置。本发明的优点在于:通过气缸驱动输送架实现复合绝缘子的输送,注射修补完成后通过安装于上模的勾取装置将复合绝缘子随着上模的移动从下模取出,并通过输送架将复合绝缘子移出,系统机械化程度更高,无需通过人工输送,减少了人工劳动强度。

返回首页 | 品牌大全 | 品牌排行 | 品牌问答 | 品牌资讯 | 品牌价值 | 关于我们 | 联系我们 | 免责声明

Copyright 2013-2020 品牌门户,牌子123(www.paizi123.cn) 版权所有 备案号:苏ICP备13009020号-7

网站地图