专利状态
一种复合绝缘子芯棒打磨系统
专利申请进度
申请
2019-10-25
申请公布
2020-01-17
授权
2021-07-13
预估到期
2039-10-25
专利基础信息
申请号 申请日
授权公布号 授权公告日
分类号
分类
申请人名称 江苏祥源电气设备有限公司
申请人地址
专利法律状态
  • 2021-07-13
    授权
    状态信息
    授权
  • 2020-02-18
    实质审查的生效
    状态信息
    实质审查的生效IPC(主分类):B24B27/00
  • 2020-01-17
    公布
    状态信息
    公布
摘要
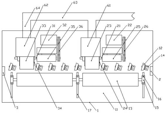
本发明涉及一种复合绝缘子芯棒打磨系统,包括一打磨单元,所述打磨单元包括一打磨壳体,在打磨壳体的两侧分别具有一进料口、一出料口,所述打磨壳体内设置有一将打磨壳体的内腔分隔为上下两个工作强的打磨平台,在打磨平台的上端安装有打磨输送机构、打磨机构、清洁机构,打磨机构靠近进料口处,清洁机构靠近出料口处;一进料单元;一出料单元;一除尘单元,包括第一除尘罩、第二除尘罩、脉冲滤袋除尘器。本发明的优点在于:采用由若干打磨砂纸形成的打磨辊来实现对芯棒的打磨,采用由若干清洁布形成的清洁辊来实现对打磨后芯棒表面粉尘的清理,由于打磨砂纸与清洁布均为软质材料,这样就使得打磨辊与清洁辊可以,确保打磨效果与清洁效果。

返回首页 | 品牌大全 | 品牌排行 | 品牌问答 | 品牌资讯 | 品牌价值 | 关于我们 | 联系我们 | 免责声明

Copyright 2013-2020 品牌门户,牌子123(www.paizi123.cn) 版权所有 备案号:苏ICP备13009020号-7

网站地图