专利状态
一种核电用高压防爆型电加热器
专利申请进度
申请
2021-05-13
授权
2022-02-08
预估到期
2031-05-13
专利基础信息
申请号 申请日
授权公布号 授权公告日
分类号
分类
申请人名称 镇江裕太防爆电加热器有限公司
申请人地址
专利法律状态
  • 2022-02-08
    授权
    状态信息
    授权
摘要
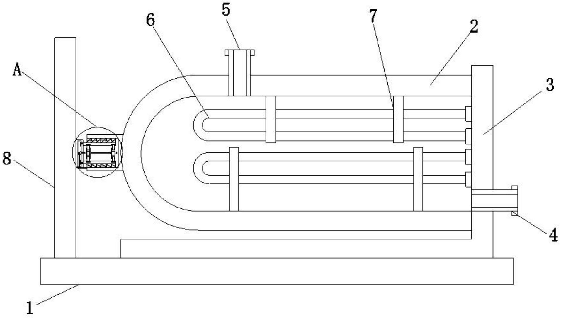
本实用新型涉及电加热器技术领域,且公开了一种核电用高压防爆型电加热器,解决了电加热器安装繁琐的问题,其包括底板和防爆电加热器本体,所述防爆电加热器本体安装于底板的上方,防爆电加热器本体上设有与底板连接的支撑座,底板的顶端设有位于防爆电加热器本体一侧的支撑柱,防爆电加热器本体的一侧底端设有贯穿于支撑座上的出口管,防爆电加热器本体的顶端一侧设有进口管,防爆电加热器本体的内部设有电加热管;通过设置有底板、支撑柱和衔接机构,可以实现防爆电加热器本体与支撑柱的连接,安装操作简单,有效的提高了防爆电加热器本体与支撑柱的安装效率,并提高防爆电加热器本体的稳定性。

返回首页 | 品牌大全 | 品牌排行 | 品牌问答 | 品牌资讯 | 品牌价值 | 关于我们 | 联系我们 | 免责声明

Copyright 2013-2020 品牌门户,牌子123(www.paizi123.cn) 版权所有 备案号:苏ICP备13009020号-7

网站地图