专利状态
一种稳定型喷粉机及喷涂装置
专利申请进度
申请
2017-03-17
授权
2017-12-01
预估到期
2027-03-17
专利基础信息
申请号 申请日
授权公布号 授权公告日
分类号
分类
申请人名称 广东广铝铝型材有限公司
申请人地址
专利法律状态
  • 2017-12-01
    授权
    状态信息
    授权
摘要
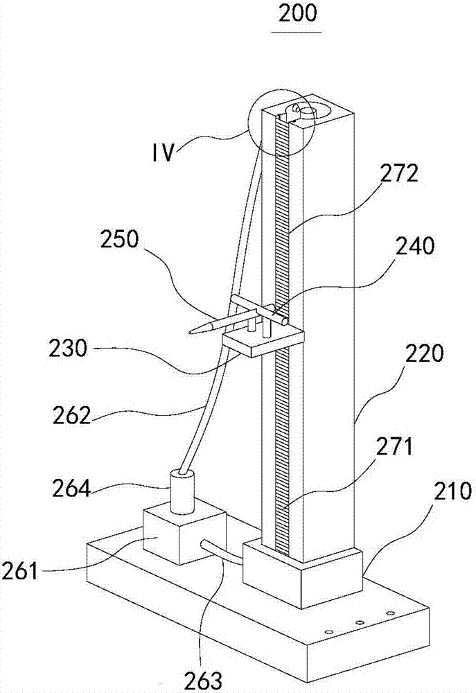
本实用新型涉及喷涂设备领域,具体而言,涉及一种稳定型喷粉机及喷涂装置。本实用新型公开了一种稳定型喷粉机,包括底座、固定筒、活动件、支架以及喷枪。固定筒设置在底座上,固定筒内沿固定筒的轴线设置有传动丝杠。底座设置有与传动丝杠传动连接的驱动装置;固定筒的外周沿固定筒的轴线设有开口,活动件的一端穿过开口与传动丝杠螺纹连接,活动件的另一端与支架连接,喷枪固定在支架上。该稳定型喷粉机结构简单,能够提高喷涂的稳定性。

返回首页 | 品牌大全 | 品牌排行 | 品牌问答 | 品牌资讯 | 品牌价值 | 关于我们 | 联系我们 | 免责声明

Copyright 2013-2020 品牌门户,牌子123(www.paizi123.cn) 版权所有 备案号:苏ICP备13009020号-7

网站地图