专利状态
上料装置及锭材运输系统
专利申请进度
申请
2017-07-26
申请公布
2017-11-07
授权
2020-01-21
预估到期
2037-07-26
专利基础信息
申请号 申请日
授权公布号 授权公告日
分类号
分类
申请人名称 广东广铝铝型材有限公司
申请人地址
专利法律状态
  • 2020-01-21
    授权
    状态信息
    授权
  • 2017-12-01
    实质审查的生效
    状态信息
    实质审查的生效
  • 2017-11-07
    公布
    状态信息
    公布
摘要
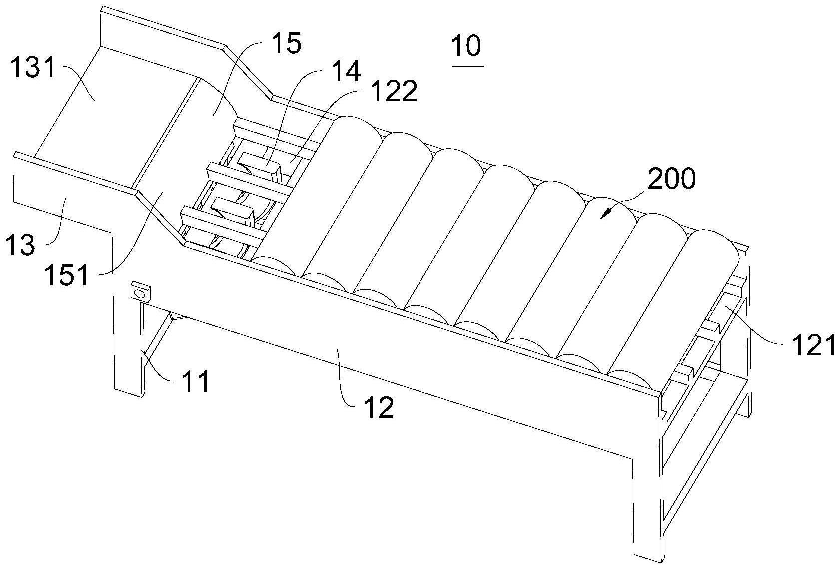
本发明提供了一种上料装置及锭材运输系统,属于运输设备技术领域。上料装置包括机架、储放件、运输件和顶出件,储放件与机架连接且具有第一运输通道,运输件与机架连接且具有第二运输通道,第二运输通道高于第一运输通道,储放件与运输件连接且储放件与运输件之间具有提升通道,顶出件可转动的连接于机架且顶出件的一端能够伸入第一运输通道,顶出件用于驱使锭材从第一运输通道通过提升通道运输至第二运输通道。该上料装置能够使锭材按照一定的次序依次向第二运输通道输出,实现锭材的合理化上料。该结构设计合理,机构紧凑,整体使用效果较佳,实用性强。锭材运输系统包括上料装置,其具有该上料装置的全部功能。

返回首页 | 品牌大全 | 品牌排行 | 品牌问答 | 品牌资讯 | 品牌价值 | 关于我们 | 联系我们 | 免责声明

Copyright 2013-2020 品牌门户,牌子123(www.paizi123.cn) 版权所有 备案号:苏ICP备13009020号-7

网站地图