专利状态
一种节能轻量化铝合金型材
专利申请进度
申请
2019-06-27
授权
2020-05-12
预估到期
2029-06-27
专利基础信息
申请号 申请日
授权公布号 授权公告日
分类号
分类
申请人名称 广东广铝铝型材有限公司
申请人地址
专利法律状态
  • 2020-05-12
    授权
    状态信息
    授权
摘要
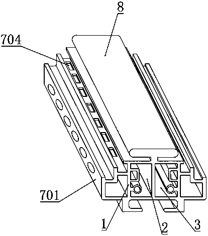
本实用新型公开了一种节能轻量化铝合金型材,所述型材主体端部一侧开设有第一空腔,所述型材主体端部另一侧开设有第二空腔,所述第一空腔和第二空腔内壁顶端均安装有连接块,所述连接块一端开设有通孔,本实用新型结构科学合理,使用安全方便,通过第一空腔和第二空腔,使得该铝合金更加的轻量化,再通过连接块、通孔和凸起,便于提高第一空腔和第二空腔内侧的强度,且由于其对称分布,从而使得其结构更加稳定,方便实用,通过排水板、排水槽、隔板和导流孔,便于对落入到型材主体上的水渍进行分流导流,通过排水孔,便于对水渍进行排放,综上,能够快速的对落在型材主体上的水渍进行排水,方便实用。

返回首页 | 品牌大全 | 品牌排行 | 品牌问答 | 品牌资讯 | 品牌价值 | 关于我们 | 联系我们 | 免责声明

Copyright 2013-2020 品牌门户,牌子123(www.paizi123.cn) 版权所有 备案号:苏ICP备13009020号-7

网站地图