专利状态
一种木板数控冲孔机
专利申请进度
申请
2021-01-23
授权
2021-11-30
预估到期
2031-01-23
专利基础信息
申请号 申请日
授权公布号 授权公告日
分类号
分类
申请人名称 合肥长安办公家具制造有限公司
申请人地址
专利法律状态
  • 2021-11-30
    授权
    状态信息
    授权
摘要
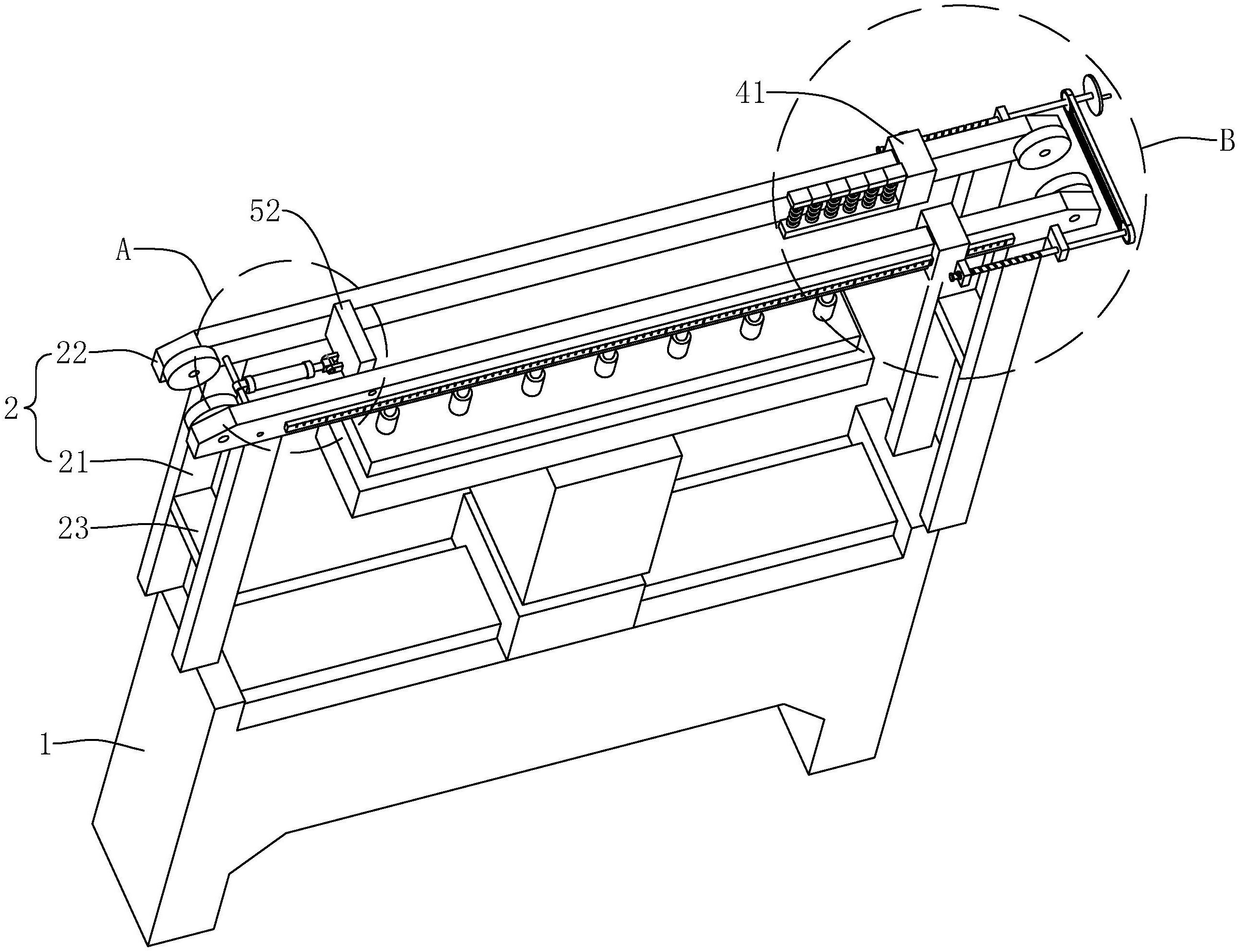
本申请涉及一种木板数控冲孔机,涉及板材加工的领域,其包括底座、安装在底座上用于放置木板的放置架,所述放置架包括底座、安装在底座上端面的两个竖杆、安装在两个竖杆上部的顶板,所述顶板上安装有定位组件,所述定位组件包括套设在顶板上的滑动座,所述顶板的侧壁上设置有对滑动座进行定位的定位件;所述定位件包括安装在顶板侧壁上的固定板、螺纹穿设在固定板内部的螺纹杆,螺纹杆与顶板平行,所述螺纹杆穿设在滑动座内部,所述螺纹杆上套设有位于滑动座两侧的限位环。本申请具有使得木板的加工效果较好的优点。

返回首页 | 品牌大全 | 品牌排行 | 品牌问答 | 品牌资讯 | 品牌价值 | 关于我们 | 联系我们 | 免责声明

Copyright 2013-2020 品牌门户,牌子123(www.paizi123.cn) 版权所有 备案号:苏ICP备13009020号-7

网站地图