专利状态
一种用于金属板加工的激光切割机
专利申请进度
申请
2021-01-23
授权
2021-12-03
预估到期
2031-01-23
专利基础信息
申请号 申请日
授权公布号 授权公告日
分类号
分类
申请人名称 合肥长安办公家具制造有限公司
申请人地址
专利法律状态
  • 2021-12-03
    授权
    状态信息
    授权
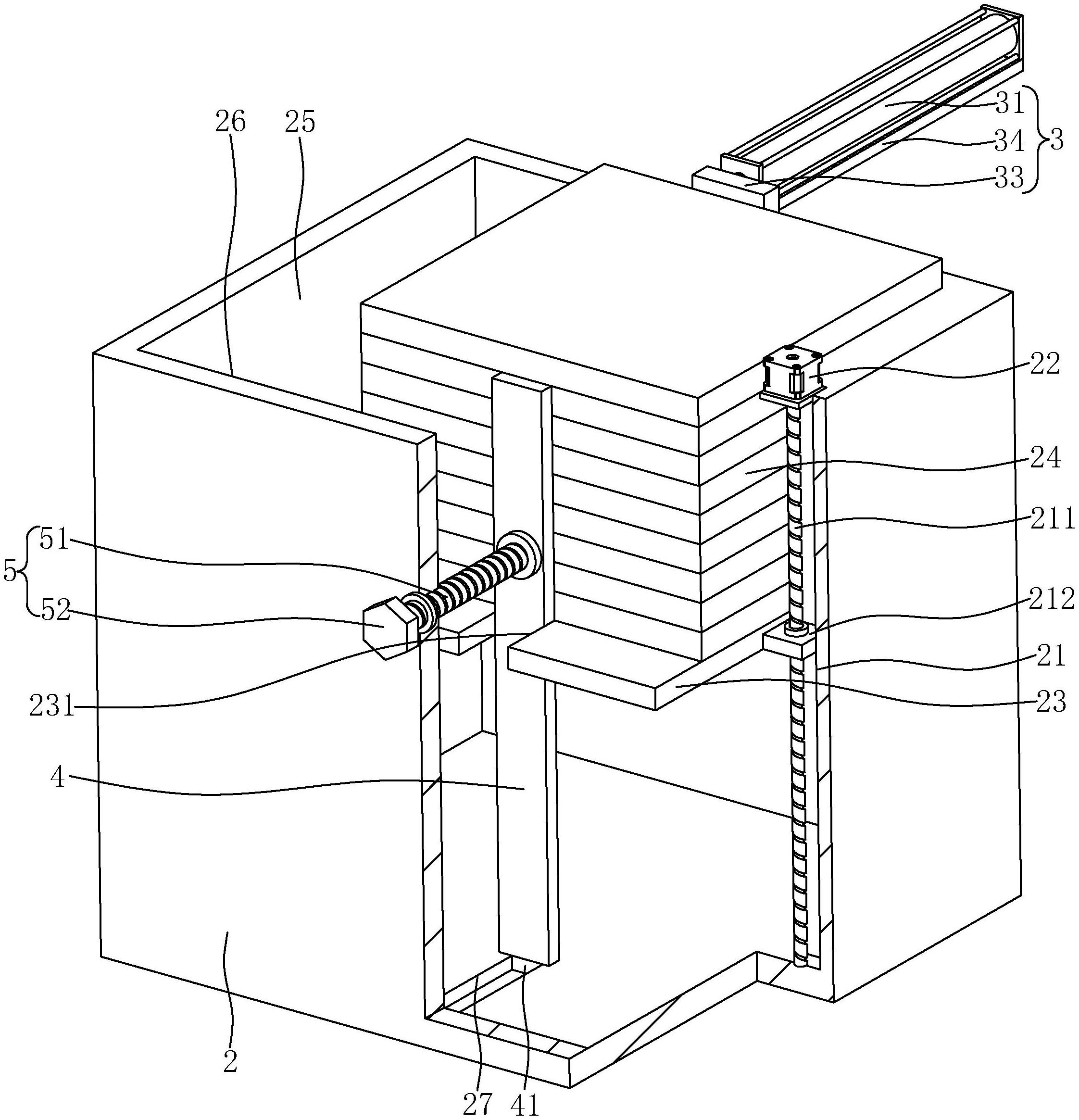
摘要
本申请涉及一种用于金属板加工的激光切割机,涉及激光切割机的领域,其包括切割机本体以及位于切割机本体的一侧且顶部为开口状的上料框,切割机本体的上端面设置有工作台,上料框的内侧壁上开设有安装槽,安装槽内通过轴承安装有竖直设置的第一螺杆,第一螺杆的顶端穿设在上料框的侧壁内且延伸到上料框的外侧,上料框的上端面安装有用于驱动第一螺杆的电机;第一螺杆上螺纹配合有与安装槽抵接的安装块,安装块与水平放置在上料框内的上料板连接,上料板的上端面用于依次叠加若干金属板,顶部金属板的下端面高于上料框与工作台的上端面,上料框的侧壁上安装用于将顶部金属板推动至工作台上的推动件。本申请具有提高金属板加工效率的效果。

返回首页 | 品牌大全 | 品牌排行 | 品牌问答 | 品牌资讯 | 品牌价值 | 关于我们 | 联系我们 | 免责声明

Copyright 2013-2020 品牌门户,牌子123(www.paizi123.cn) 版权所有 备案号:苏ICP备13009020号-7

网站地图