专利状态
一种防水地板
专利申请进度
申请
2019-08-06
授权
2020-06-23
预估到期
2029-08-06
专利基础信息
申请号 申请日
授权公布号 授权公告日
分类号
分类
申请人名称 南京久扬家居有限公司
申请人地址
专利法律状态
  • 2020-06-23
    授权
    状态信息
    授权
摘要
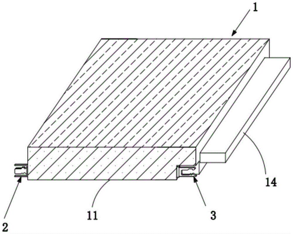
本实用新型公开了一种防水地板,涉及地板应用技术领域,本体的左侧壁前后两端对称凸设第一卡扣,本体右侧壁前后两端均凹设呈矩形结构的深槽,且深槽内水平固定第二卡扣,本体的上下端面和卡板的上下端面均镀有PVC膜,且本体上与第一卡扣与第二卡扣相对应的位置上均凹设呈圆形结构的卡孔,通过在地板本体的顶部和底部、卡板的顶部和底部均镀设具有防水效果的PVC膜,并且在木地板的四周侧壁喷涂防水层,从而可以有效的提高木地板的防水效果,通过在地板上设置第一卡扣和第二卡扣、从而可以利用地板侧壁前后两端的第一卡扣来卡合固定另一地板侧壁前后两端的的第二卡扣,使得两个地板能够通过第一卡扣卡合第二卡扣将两端紧密连接。  

返回首页 | 品牌大全 | 品牌排行 | 品牌问答 | 品牌资讯 | 品牌价值 | 关于我们 | 联系我们 | 免责声明

Copyright 2013-2020 品牌门户,牌子123(www.paizi123.cn) 版权所有 备案号:苏ICP备13009020号-7

网站地图