专利状态
一种拼接式沙发框架
专利申请进度
申请
2019-02-22
授权
2019-11-19
预估到期
2029-02-22
专利基础信息
申请号 申请日
授权公布号 授权公告日
分类号
分类
申请人名称 浙江冠臣家具制造有限公司
申请人地址
专利法律状态
  • 2019-11-19
    授权
    状态信息
    授权
摘要
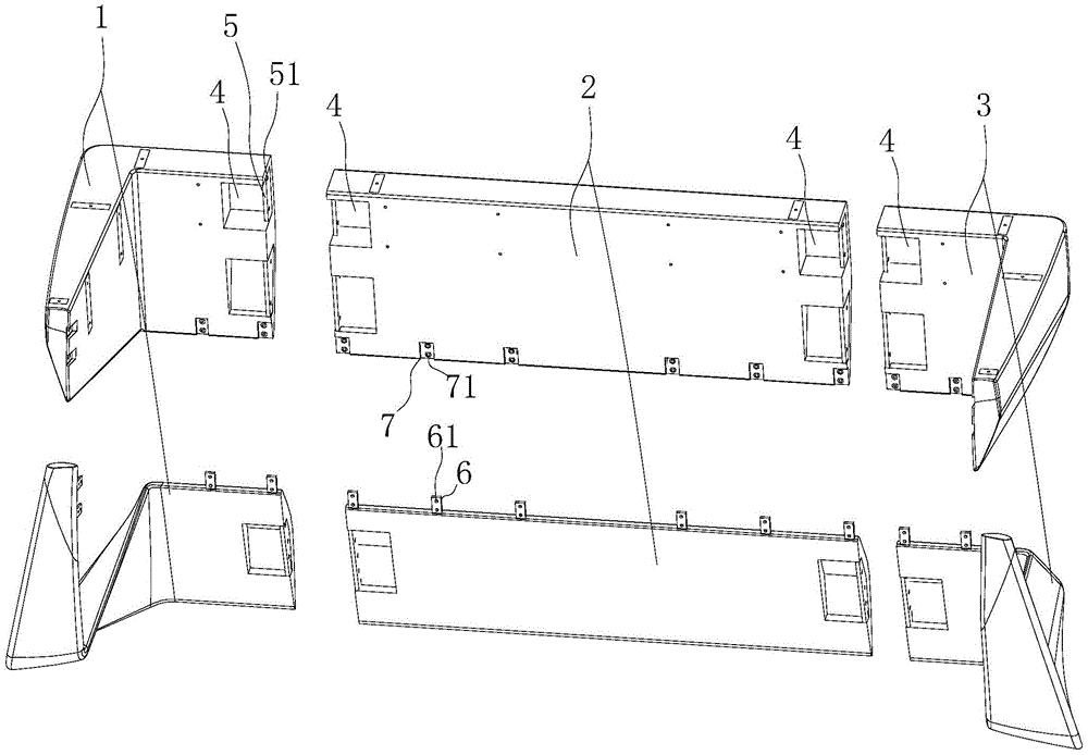
本实用新型公开了一种拼接式沙发框架。为克服现有沙发框架是一体式不可拆分导致生产、运输成本高,使用不灵活的缺陷,本实用新型采用的技术方案包括所述左扶手框架的一侧、所述右扶手框架的一侧以及所述拼接框架的两侧均设有至少一个安装缺口,安装缺口的侧边开口处设有带装配孔的安装板。其优点是:将沙发框架模块化,使得同款沙发中不同尺寸规格的产品具有通用部件,适用于批量生产,生产、加工的成本得以降低,装配灵活,而且,几个模块之间可以相互拆分、拼接,便于运输。

返回首页 | 品牌大全 | 品牌排行 | 品牌问答 | 品牌资讯 | 品牌价值 | 关于我们 | 联系我们 | 免责声明

Copyright 2013-2020 品牌门户,牌子123(www.paizi123.cn) 版权所有 备案号:苏ICP备13009020号-7

网站地图