专利状态
一种通风窗组合装配结构
专利申请进度
申请
2021-01-10
授权
2021-12-31
预估到期
2031-01-10
专利基础信息
申请号 申请日
授权公布号 授权公告日
分类号
分类
申请人名称 希洛建筑科技(广东)有限公司
申请人地址
专利法律状态
  • 2021-12-31
    授权
    状态信息
    授权
摘要
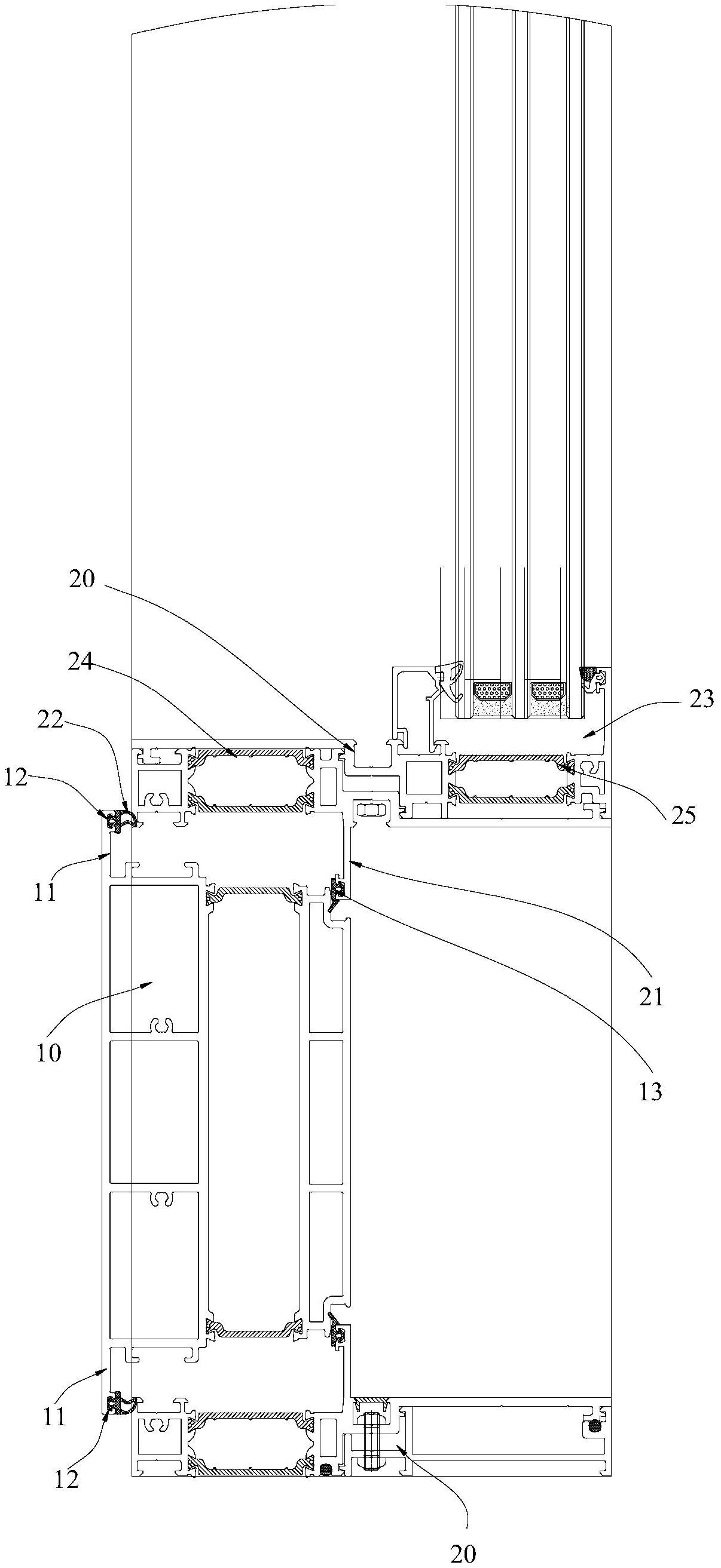
本实用新型公开了一种通风窗组合装配结构,包括用于安装通风窗的安装型材以及用于与外部门窗框连接的连接型材,所述安装型材的两端形成连接端,所述安装型材的两个连接端均连接有所述连接型材;所述连接型材具有第一端以及第二端,所述第一端用于与连接端密封配合;其中一个连接型材的第一端与其中一个连接端通过铰链连接;所述第二端用于与外部门窗框连接。本实用新型的通风窗组合装配结构,其可通过安装型材与两个连接型材装配在门窗框上,实现与门窗系统的装配。

返回首页 | 品牌大全 | 品牌排行 | 品牌问答 | 品牌资讯 | 品牌价值 | 关于我们 | 联系我们 | 免责声明

Copyright 2013-2020 品牌门户,牌子123(www.paizi123.cn) 版权所有 备案号:苏ICP备13009020号-7

网站地图