专利状态
复合护栏以及纱窗的内开窗结构
专利申请进度
申请
2021-01-10
授权
2021-12-31
预估到期
2031-01-10
专利基础信息
申请号 申请日
授权公布号 授权公告日
分类号
分类
申请人名称 希洛建筑科技(广东)有限公司
申请人地址
专利法律状态
  • 2021-12-31
    授权
    状态信息
    授权
摘要
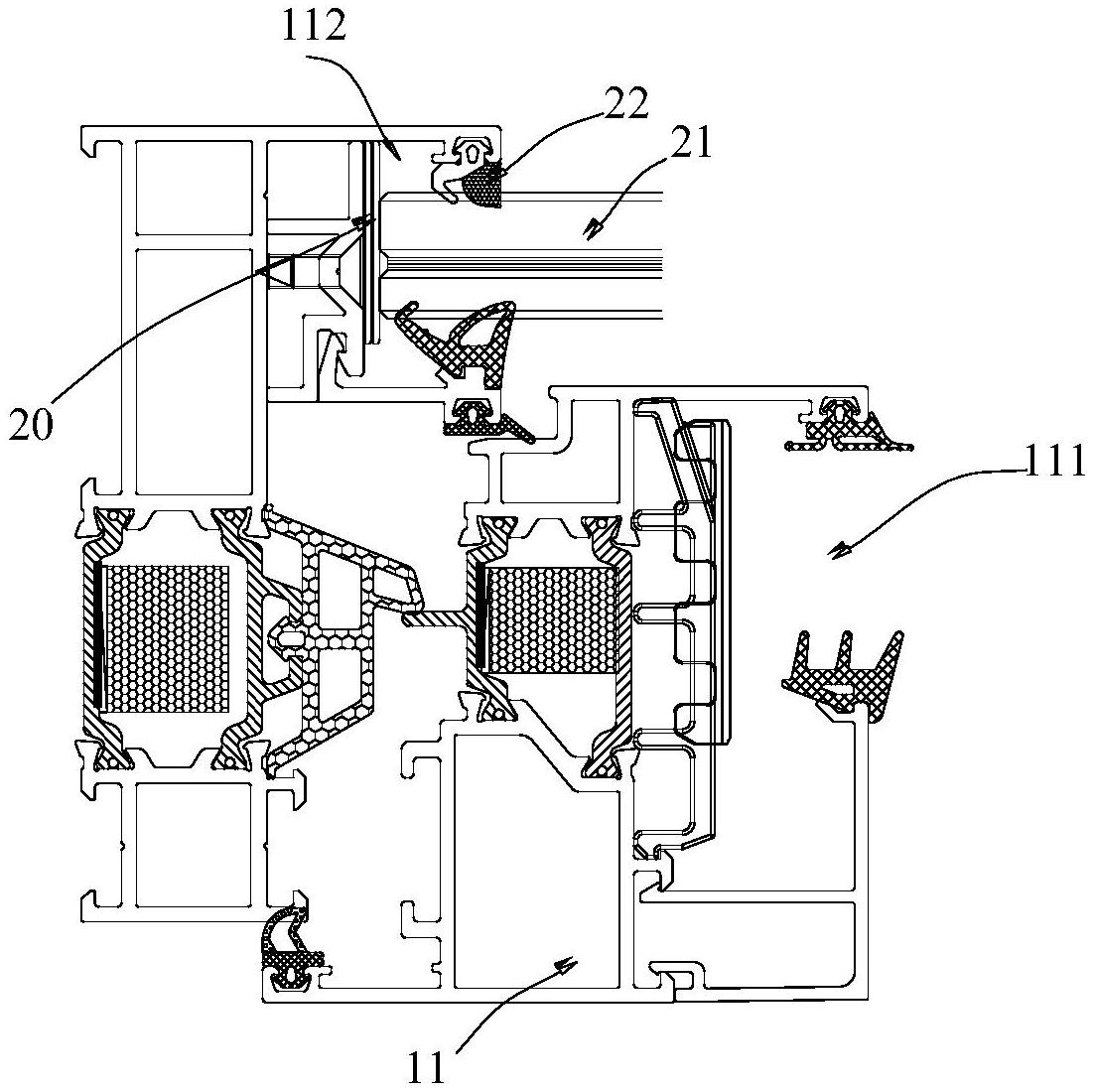
本实用新型公开了复合护栏以及纱窗的内开窗结构,包括窗框以及安装框,所述窗框包括四个框条型材,所述四个框条型材相互衔接;所述框条型材包括位于内侧的第一端以及位于外侧第二端,所述第一端设有第一安装槽,所述第二端设有第二安装槽;所述第一安装槽内用于安装窗扇,所述第二安装槽用于安装所述安装框;所述安装框用于安装护栏或者纱窗。本实用新型的复合护栏以及纱窗的内开窗结构,其可直接在内开窗上复合装配护栏或者纱窗,拆装方便。

返回首页 | 品牌大全 | 品牌排行 | 品牌问答 | 品牌资讯 | 品牌价值 | 关于我们 | 联系我们 | 免责声明

Copyright 2013-2020 品牌门户,牌子123(www.paizi123.cn) 版权所有 备案号:苏ICP备13009020号-7

网站地图