专利状态
一种复合电缆导管内管外表面开槽机
专利申请进度
申请
2013-08-09
申请公布
2013-12-04
授权
2015-04-22
预估到期
2033-08-09
专利基础信息
申请号 申请日
授权公布号 授权公告日
分类号
分类
申请人名称 山东省呈祥电工电气有限公司
申请人地址
专利法律状态
  • 2015-04-22
    授权
    状态信息
    授权
  • 2013-12-25
    实质审查的生效
    状态信息
    实质审查的生效IPC(主分类):B26D 3/06申请日:20130809
  • 2013-12-04
    公布
    状态信息
    公开
摘要
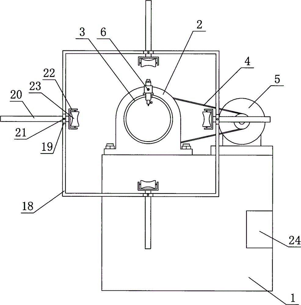
一种复合电缆导管内管外表面开槽机,包括机架,在机架上通过轴承座安装有一加工套筒,设在加工套筒中部的皮带轮通过传动带与一设在机架上的电机输出轴上的皮带轮相连,在加工套筒的一端设有一垂直于加工套筒轴向设置的开槽装置。它结构设计合理,操作简单方便,加工速度快,效率高,通过在内管外表面开设螺纹槽,然后再在内管外缠绕玻璃丝,不仅降低了成本,而且由玻璃丝缠绕形成的玻璃钢管与内管可紧密的结合成为一个整体,避免了内外管滑脱,导热系数大,耐热性好,既充分发挥了玻璃钢的优点,制作的管道刚度高、负荷抗压能力强、抗地基沉陷能力强,又避免了玻璃钢内壁不耐磨、易散丝的缺点,电缆容易穿过,避免了卡死电缆的情况发生。

返回首页 | 品牌大全 | 品牌排行 | 品牌问答 | 品牌资讯 | 品牌价值 | 关于我们 | 联系我们 | 免责声明

Copyright 2013-2020 品牌门户,牌子123(www.paizi123.cn) 版权所有 备案号:苏ICP备13009020号-7

网站地图