专利状态
一种管廊内电缆支架
专利申请进度
申请
2016-10-26
授权
2017-06-20
预估到期
2026-10-26
专利基础信息
申请号 申请日
授权公布号 授权公告日
分类号
分类
申请人名称 山东省呈祥电工电气有限公司
申请人地址
专利法律状态
  • 2017-06-20
    授权
    状态信息
    授权
摘要
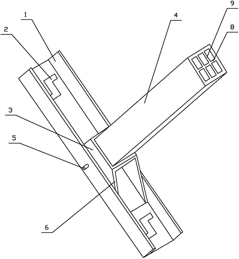
一种管廊内电缆支架,包括一横截面为U形的底座,在底座的底板上设有若干间隔布置的装配孔,在底座内卡装有安装座,在安装座上插装一向底座的U形口方向延伸的横梁,在底座上相对于安装座的位置设有穿过底座的两侧板、安装座和横梁的螺栓螺母紧固件。本装置结构合理,在底座和横梁之间设有安装座,整体重量轻,承重量大。

返回首页 | 品牌大全 | 品牌排行 | 品牌问答 | 品牌资讯 | 品牌价值 | 关于我们 | 联系我们 | 免责声明

Copyright 2013-2020 品牌门户,牌子123(www.paizi123.cn) 版权所有 备案号:苏ICP备13009020号-7

网站地图