专利状态
抗菌不锈钢外螺纹转换接头
专利申请进度
申请
2019-03-05
授权
2019-11-12
预估到期
2029-03-05
专利基础信息
申请号 申请日
授权公布号 授权公告日
分类号
分类
申请人名称 山东金力特管业有限公司
申请人地址
专利法律状态
  • 2023-10-03
    专利权质押合同登记的生效、变更及注销
    状态信息
    专利权质押合同登记的生效;IPC(主分类):F16L 15/04;专利号:ZL2019202783199;登记号:Y2023980056430;登记生效日:20230913;出质人:山东金力特管业有限公司;质权人:淄博市鑫润融资担保有限公司;实用新型名称:抗菌不锈钢外螺纹转换接头;申请日:20190305;授权公告日:20191112
  • 2023-09-22
    专利权质押合同登记的生效、变更及注销
    状态信息
    专利权质押合同登记的注销;IPC(主分类):F16L15/04;授权公告日:20191112;申请日:20190305;登记号:Y2022980010399;出质人:山东金力特管业有限公司;质权人:淄博市鑫润融资担保有限公司;解除日:20230904
  • 2022-07-29
    专利权质押合同登记的生效、变更及注销
    状态信息
    专利权质押合同登记的生效;IPC(主分类):F16L15/04;登记号:Y2022980010399;登记生效日:20220713;出质人:山东金力特管业有限公司;质权人:淄博市鑫润融资担保有限公司;实用新型名称:抗菌不锈钢外螺纹转换接头;申请日:20190305;授权公告日:20191112
  • 2022-07-26
    专利权质押合同登记的生效、变更及注销
    状态信息
    专利权质押合同登记的注销;IPC(主分类):F16L15/04;授权公告日:20191112;申请日:20190305;登记号:Y2021980007120;出质人:山东金力特管业有限公司;质权人:淄博市鑫润融资担保有限公司;解除日:20220711
  • 2021-08-17
    专利权质押合同登记的生效、变更及注销
    状态信息
    专利权质押合同登记的生效;IPC(主分类):F16L15/04;登记号:Y2021980007120;登记生效日:20210730;出质人:山东金力特管业有限公司;质权人:淄博市鑫润融资担保有限公司;实用新型名称:抗菌不锈钢外螺纹转换接头;申请日:20190305;授权公告日:20191112
  • 2021-07-30
    专利权质押合同登记的生效、变更及注销
    状态信息
    专利权质押合同登记的注销;IPC(主分类):F16L15/04;授权公告日:20191112;申请日:20190305;登记号:Y2020980004159;出质人:山东金力特管业有限公司;质权人:淄博市鑫润融资担保有限公司;解除日:20210714
  • 2020-08-14
    专利权质押合同登记的生效、变更及注销
    状态信息
    专利权质押合同登记的生效;IPC(主分类):F16L15/04;登记号:Y2020980004159;登记生效日:20200721;出质人:山东金力特管业有限公司;质权人:淄博市鑫润融资担保有限公司;实用新型名称:抗菌不锈钢外螺纹转换接头;申请日:20190305;授权公告日:20191112
  • 2019-11-12
    授权
    状态信息
    授权
摘要
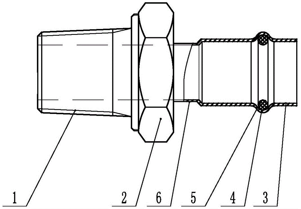
本实用新型涉及一种抗菌不锈钢外螺纹转换接头,属于不锈钢管件技术领域。本实用新型解决了现有不锈钢管件存在的连接困难、连接过程繁琐的问题。本实用新型一种抗菌不锈钢外螺纹转换接头,包括外螺纹部,外螺纹部后端设置有拧紧部,拧紧部后端设置有插接部;所述的插接部后端设置有环状凸起,环状凸起内壁上设置有密封圈;密封圈的内径小于插接部的内径。本实用新型具有管件连接方便的有益效果。

返回首页 | 品牌大全 | 品牌排行 | 品牌问答 | 品牌资讯 | 品牌价值 | 关于我们 | 联系我们 | 免责声明

Copyright 2013-2020 品牌门户,牌子123(www.paizi123.cn) 版权所有 备案号:苏ICP备13009020号-7

网站地图