专利状态
一种旗杆灯杆的安装固定结构
专利申请进度
申请
2018-11-14
申请公布
2019-04-02
授权
2020-08-14
预估到期
2038-11-14
专利基础信息
申请号 申请日
授权公布号 授权公告日
分类号
分类
申请人名称 广东耀龙金属科技有限公司
申请人地址
专利法律状态
  • 2021-01-05
    专利权质押合同登记的生效、变更及注销
    状态信息
    专利权质押合同登记的生效、变更及注销
  • 2020-08-14
    授权
    状态信息
    授权
  • 2019-04-26
    实质审查的生效
    状态信息
    实质审查的生效IPC(主分类):E04H 12/22
  • 2019-04-02
    公布
    状态信息
    公布
摘要
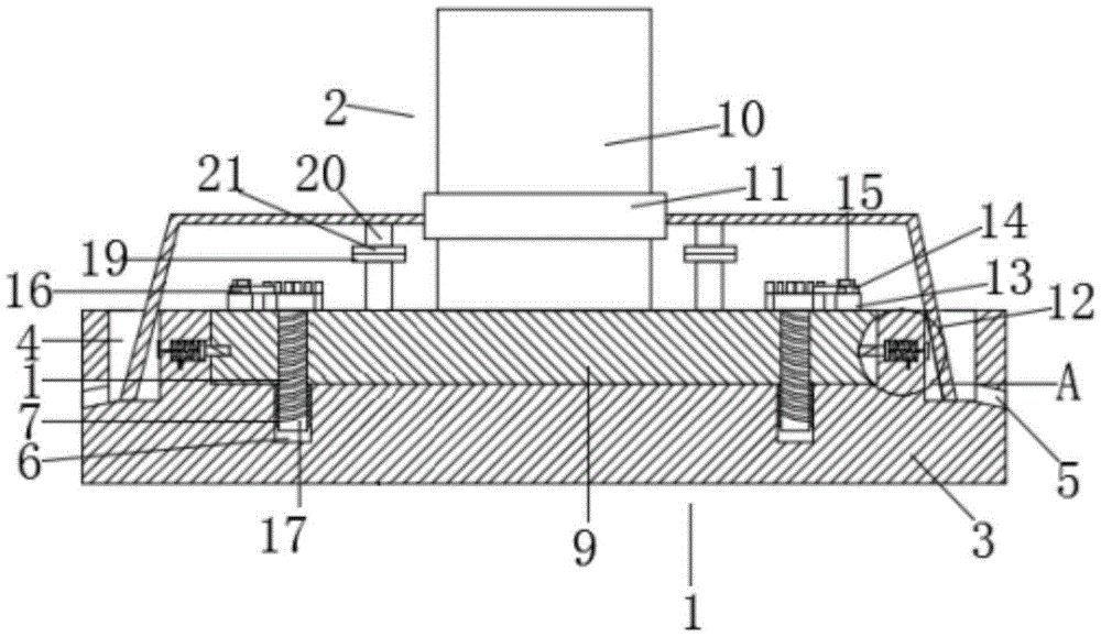
本发明公开了一种旗杆灯杆的安装固定结构,包括底座机构和安装机构,底座机构的顶部固定连接有安装机构,底座机构由固定基座、蓄水槽、排水槽、第一安装孔、钢螺套、安装固定槽、限位滑槽、卡死弹簧、限位滑板、限位锁杆、限位钉、限位卡槽、回力槽、回力弹簧和回力板组成,固定基座顶部的中间位置开凿有安装固定槽,通过设置了限位锁杆和限位卡槽,便于通过限位锁杆与限位卡槽的配合,便于固定底板的预装和固定,增加了其安装的便捷性,降低工人的劳动强度,通过设置了防护罩和排水槽,使连接处能够实现防水的效果,避免其长时间被雨水侵蚀造成生锈造成无法拆除的问题,增加了其更换和维修的便捷性,省事省力,提高了灯杆循环利用率。  

返回首页 | 品牌大全 | 品牌排行 | 品牌问答 | 品牌资讯 | 品牌价值 | 关于我们 | 联系我们 | 免责声明

Copyright 2013-2020 品牌门户,牌子123(www.paizi123.cn) 版权所有 备案号:苏ICP备13009020号-7

网站地图