专利状态
一种新型哑口套结构
专利申请进度
申请
2022-05-16
授权
2022-09-09
预估到期
2032-05-16
专利基础信息
申请号 申请日
授权公布号 授权公告日
分类号
分类
申请人名称 青岛有屋科技有限公司
申请人地址
专利法律状态
  • 2022-09-09
    授权
    状态信息
    授权
摘要
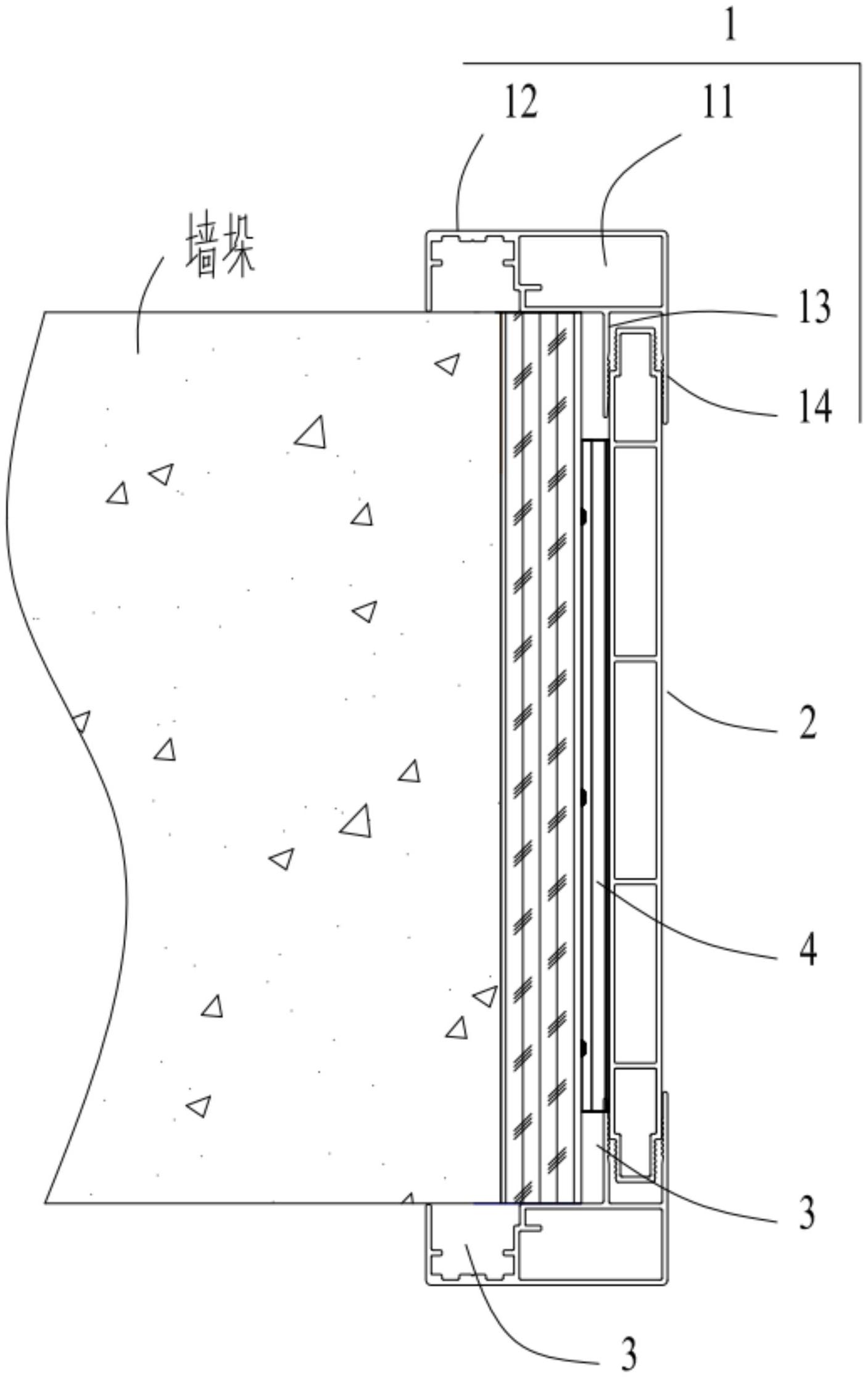
本实用新型公开了一种新型哑口套结构,包括两门套线和调节板,两门套线结构相同且相对设置,所述调节板设于两门套线之间且与门套线插接,所述调节板和两门套线共同形成包覆墙垛端部的C形结构,且所述C形结构与墙垛端部间形成有发泡胶填充腔。本实用新型结构合理、安装稳定性好,有利于提高哑口套的安装质量。

返回首页 | 品牌大全 | 品牌排行 | 品牌问答 | 品牌资讯 | 品牌价值 | 关于我们 | 联系我们 | 免责声明

Copyright 2013-2020 品牌门户,牌子123(www.paizi123.cn) 版权所有 备案号:苏ICP备13009020号-7

网站地图