专利状态
半轴自动化加热机构
专利申请进度
申请
2022-10-31
授权
2023-05-16
预估到期
2032-10-31
专利基础信息
申请号 申请日
授权公布号 授权公告日
分类号
分类
申请人名称 浙江鸿运实业有限公司
申请人地址
专利法律状态
  • 2023-05-16
    授权
    状态信息
    授权
摘要
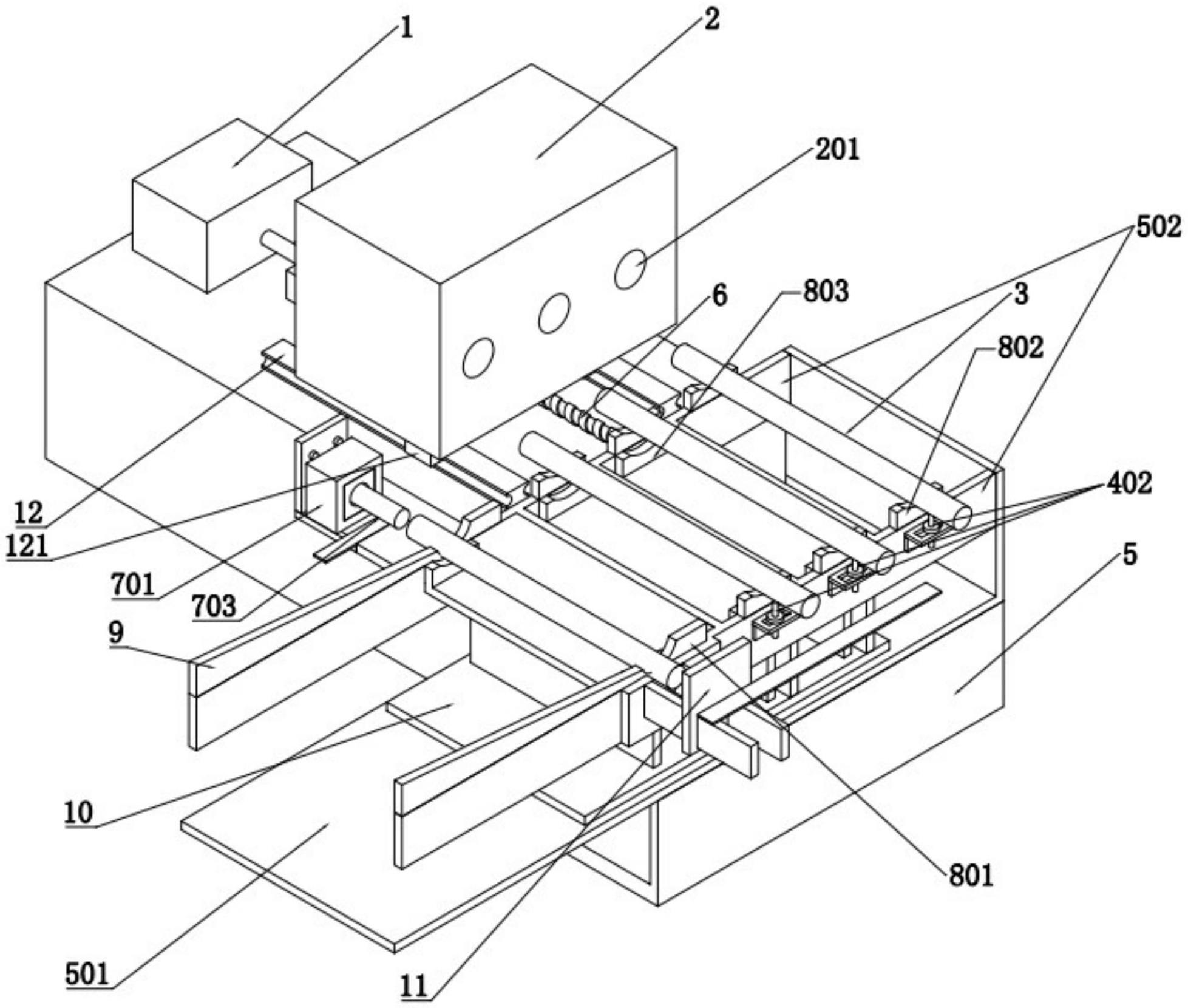
本实用新型涉及半轴加工领域,公开一种半轴自动化加热机构,包括;机架,所述机架设置有上料部、定位部、顶料部和加热部。上料部,用于将待加热的半轴运送至定位部;定位部,包括第一定位结构和第二定位结构,所述第一定位结构用于承接从上料部运送过来的半轴,所述第二定位结构与加热部的加热位对应设置;加热部,设置有加热位,所述加热位与第二定位结构对应;顶料部,包括顶升机构、第二气缸和安装第二气缸上的第二活塞杆,所述顶升机构受第二活塞杆的驱动,当顶升机构上升时,顶升机构将位于第一定位结构或第二定位结构上的半轴顶起。此机构的作用是:可以对半轴进行自动上料和自动加热。

返回首页 | 品牌大全 | 品牌排行 | 品牌问答 | 品牌资讯 | 品牌价值 | 关于我们 | 联系我们 | 免责声明

Copyright 2013-2020 品牌门户,牌子123(www.paizi123.cn) 版权所有 备案号:苏ICP备13009020号-7

网站地图