专利状态
一种健康管理中心使用的心血管功能检测仪
专利申请进度
申请
2021-09-29
授权
2022-02-11
预估到期
2031-09-29
专利基础信息
申请号 申请日
授权公布号 授权公告日
分类号
分类
申请人名称 河南邦尼康健康科技有限公司
申请人地址
专利法律状态
  • 2022-02-11
    授权
    状态信息
    授权
摘要
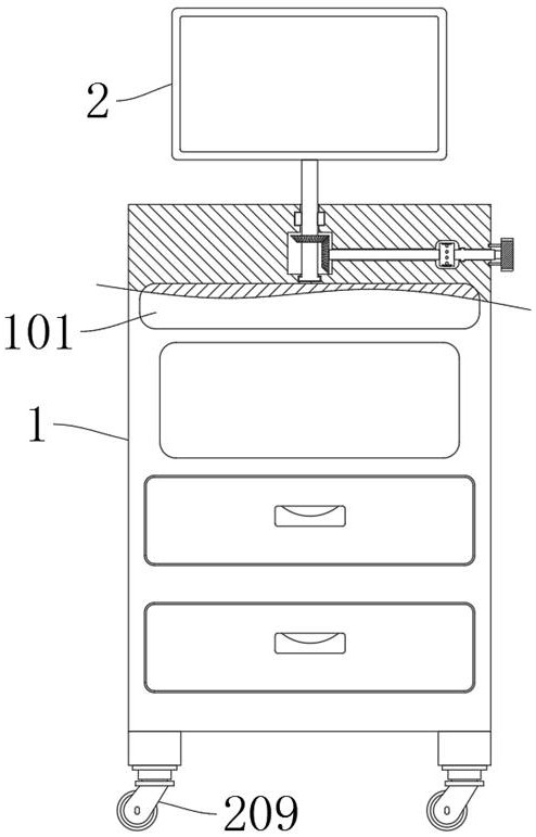
本实用新型公开了一种健康管理中心使用的心血管功能检测仪,属于心血管功能检测仪技术领域。一种健康管理中心使用的心血管功能检测仪,包括柜体,所述柜体上固定连接有操作台,还包括:开设在所述柜体内的活动腔;转动连接在所述柜体上端的转轴支架,所述转轴支架上端固定连接有显示屏;转动连接在所述柜体内的转动轴;本实用新型通过任意转动转动轴或转轴杆,均能够驱动显示屏发生转动,使得显示屏发生角度上的改变,更加便于临床医生观察显示屏进行诊断,同时转动轴位于柜体一侧处,转轴杆位于操作台处,能够在临床医生进行不同操作步骤时,方便快速的使显示屏发生转动。

返回首页 | 品牌大全 | 品牌排行 | 品牌问答 | 品牌资讯 | 品牌价值 | 关于我们 | 联系我们 | 免责声明

Copyright 2013-2020 品牌门户,牌子123(www.paizi123.cn) 版权所有 备案号:苏ICP备13009020号-7

网站地图