专利状态
健康管理服药提醒装置
专利申请进度
申请
2021-09-29
授权
2022-01-21
预估到期
2031-09-29
专利基础信息
申请号 申请日
授权公布号 授权公告日
分类号
分类
申请人名称 河南邦尼康健康科技有限公司
申请人地址
专利法律状态
  • 2022-01-21
    授权
    状态信息
    授权
摘要
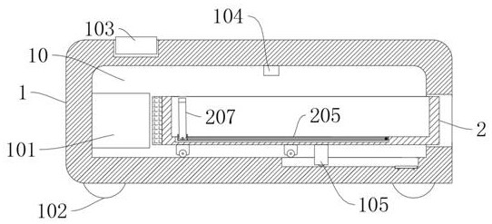
本实用新型公开了健康管理服药提醒装置,属于服药提醒装置技术领域。健康管理服药提醒装置,包括箱盒,还包括:开设在箱盒内的开槽,且一端贯穿所述箱盒;固定连接在所述开槽内的电磁铁;开设在所述开槽底面的滑槽;通过滑块滑动连接在所述开槽内的储药盒,所述滑块一端滑动连接在滑槽内;本实用新型通过设定电磁铁的开启和关闭时间,当电磁铁启动时驱动储药盒伸出箱盒外,并使蜂鸣器通电发生声响,提醒使用者服药,同时在伸出时,储药盒内的药品在固定板倾斜的作用下,向储药盒前端移动,便于使用者取药,该装置体积小巧,结构简单。

返回首页 | 品牌大全 | 品牌排行 | 品牌问答 | 品牌资讯 | 品牌价值 | 关于我们 | 联系我们 | 免责声明

Copyright 2013-2020 品牌门户,牌子123(www.paizi123.cn) 版权所有 备案号:苏ICP备13009020号-7

网站地图