专利状态
一种涂料生产用上料装置
专利申请进度
申请
2020-03-13
授权
2021-04-13
预估到期
2030-03-13
专利基础信息
申请号 申请日
授权公布号 授权公告日
分类号
分类
申请人名称 福清市景士兰涂料有限公司
申请人地址
专利法律状态
  • 2021-04-13
    授权
    状态信息
    授权
摘要
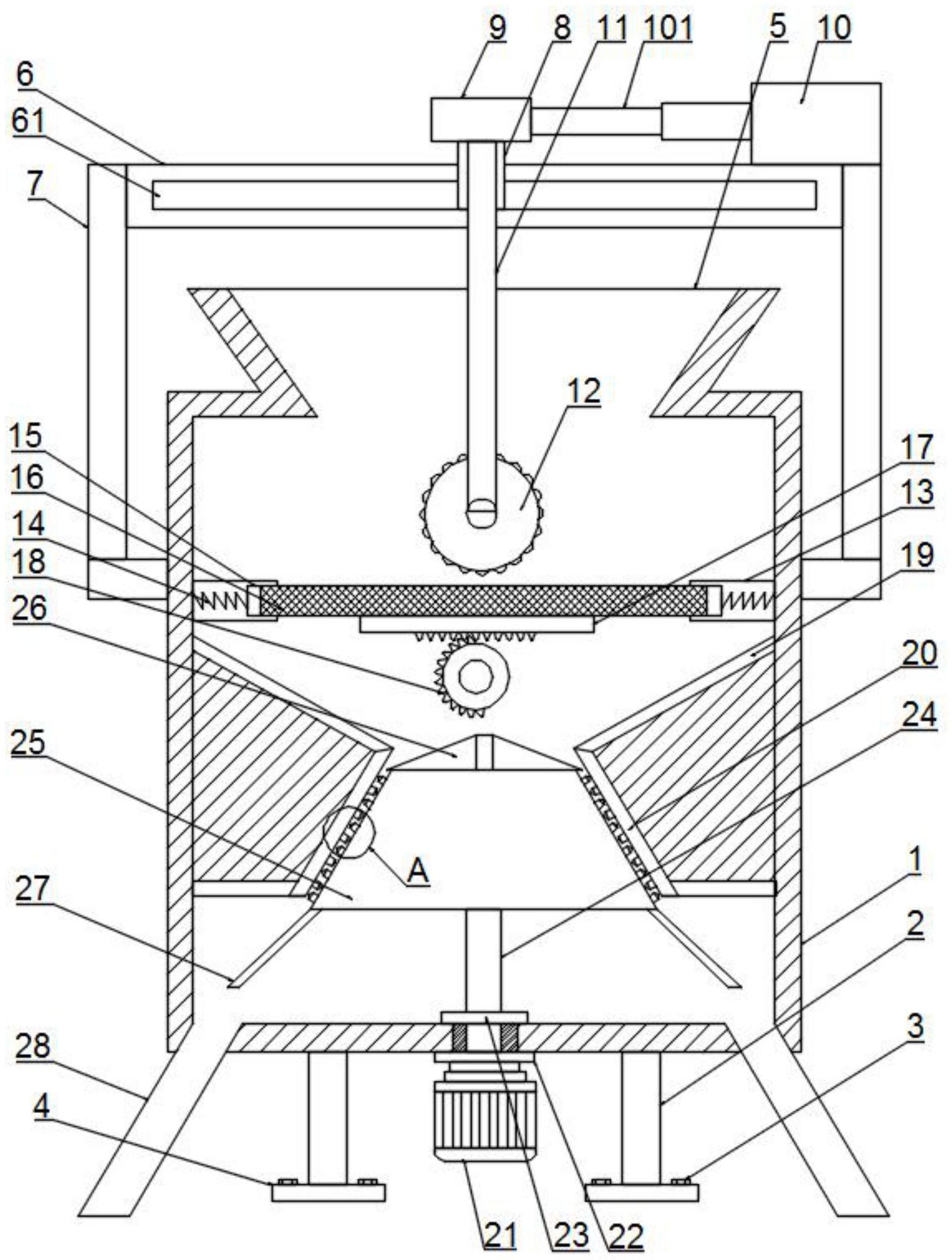
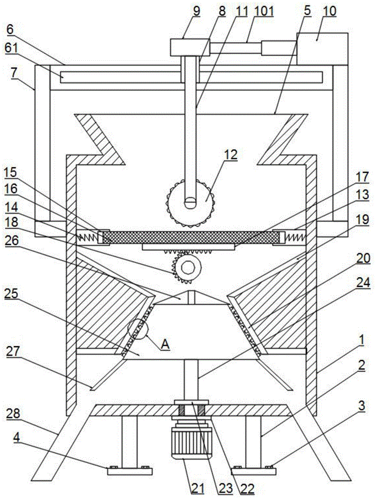
本实用新型涉及一种涂料生产用上料装置,特别涉及涂料生产设备技术领域。本实用新型包括箱体、支撑腿、进料斗、横板、支架、滑块、连接块、气缸、连接杆、研磨轮、滑套、弹簧、框架、筛网、齿条、扇形齿轮、研磨室、电机、转轴、研磨辊、分料块、分料口,所述横板上设有所述滑槽,所述滑槽内设有与所述滑槽相匹配的所述滑块,所述研磨轮下方设有所述筛网,所述筛网周围通过所述框架固定而成,所述研磨辊外壁上设有第二研磨齿,所述研磨室内壁上设有第一研磨齿,所述研磨辊底部两侧均设有向下倾斜的第二导料板,所述二导料板下端延伸至所述分料口内。通过上料时同时实现对原料的研磨、筛分,无需人工再次转移,节约时间,提高工作效率。  

返回首页 | 品牌大全 | 品牌排行 | 品牌问答 | 品牌资讯 | 品牌价值 | 关于我们 | 联系我们 | 免责声明

Copyright 2013-2020 品牌门户,牌子123(www.paizi123.cn) 版权所有 备案号:苏ICP备13009020号-7

网站地图