专利状态
一种网状管道式应急逃生通道装置
专利申请进度
申请
2020-08-14
申请公布
2020-11-13
授权
2021-07-30
预估到期
2040-08-14
专利基础信息
申请号 申请日
授权公布号 授权公告日
分类号
分类
申请人名称 长沙环康科技有限公司
申请人地址
专利法律状态
  • 2021-07-30
    授权
    状态信息
    授权
  • 2020-11-13
    公布
    状态信息
    公布
摘要
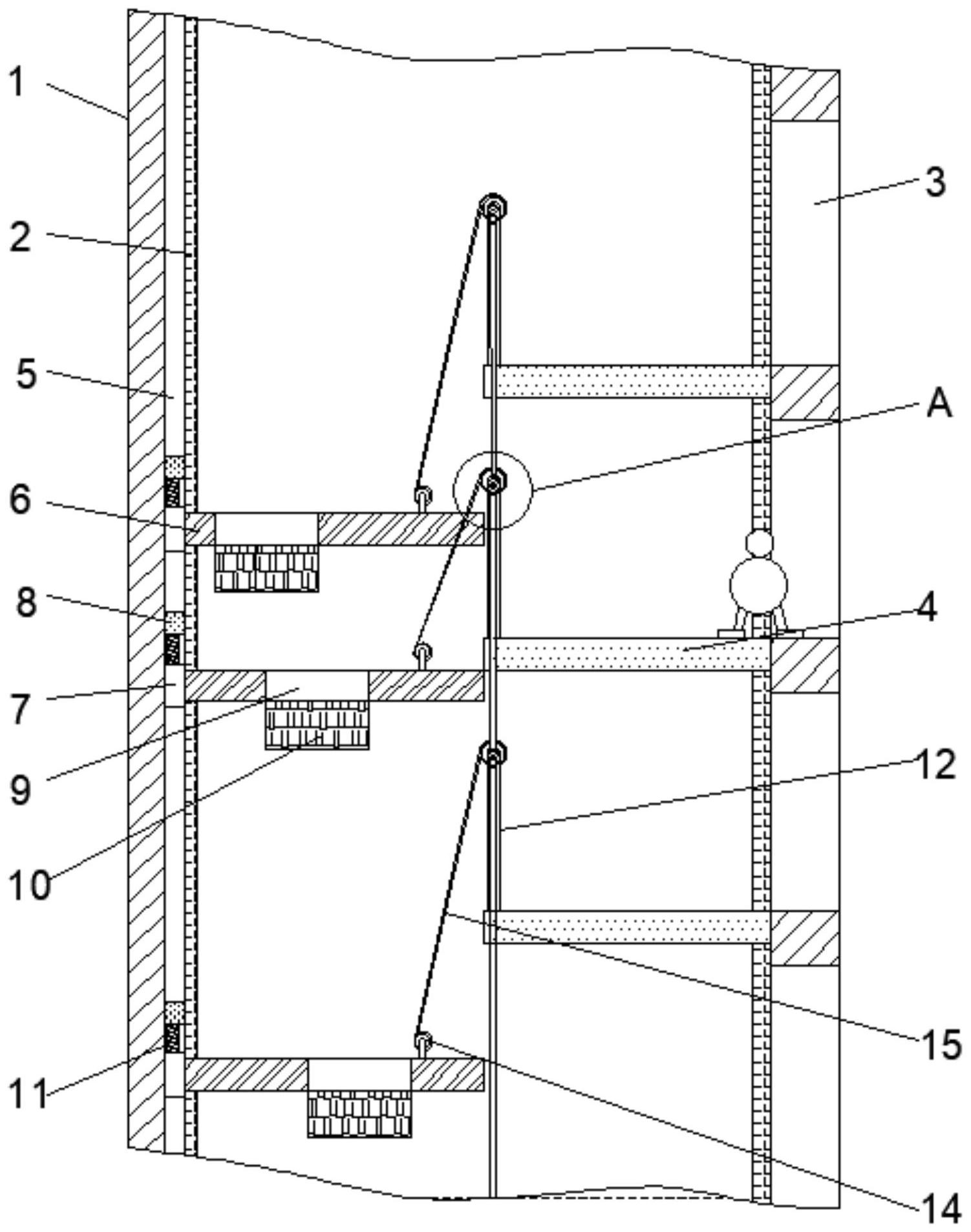
本发明公开了一种网状管道式应急逃生通道装置,包括逃生管道本体、内层防护网和逃生机构,逃生管道本体的一侧沿其长度方向等间距开设有逃生入口,每个逃生入口底端靠近逃生管道本体内部的一侧均固定有站立板,逃生管道本体位于逃生入口的对立侧并沿逃生管道本体的长度方向开设有滑槽,滑槽内位于每相邻两个站立板之间均滑动连接有逃生机构,逃生机构包括滑动连接于滑槽内的滑块、固定在滑块上并与逃生管道本体的轴向垂直的升降板和用于驱动升降板升降的驱动机构,本发明无需利用电力设备,通过人力采用动力机构驱动逃生机构升降来实现将逃生者运输至底层,而逃生机构一次可以运输多人,使用过程中较为安全,提高了逃生机构的利用效率。

返回首页 | 品牌大全 | 品牌排行 | 品牌问答 | 品牌资讯 | 品牌价值 | 关于我们 | 联系我们 | 免责声明

Copyright 2013-2020 品牌门户,牌子123(www.paizi123.cn) 版权所有 备案号:苏ICP备13009020号-7

网站地图