专利状态
一种智能救援系统
专利申请进度
申请
2018-10-12
申请公布
2019-03-15
授权
2021-04-27
预估到期
2038-10-12
专利基础信息
申请号 申请日
授权公布号 授权公告日
分类号
分类
申请人名称 长沙环康科技有限公司
申请人地址
专利法律状态
  • 2021-04-27
    授权
    状态信息
    授权
  • 2019-04-09
    实质审查的生效
    状态信息
    实质审查的生效
  • 2019-03-15
    公布
    状态信息
    公布
摘要
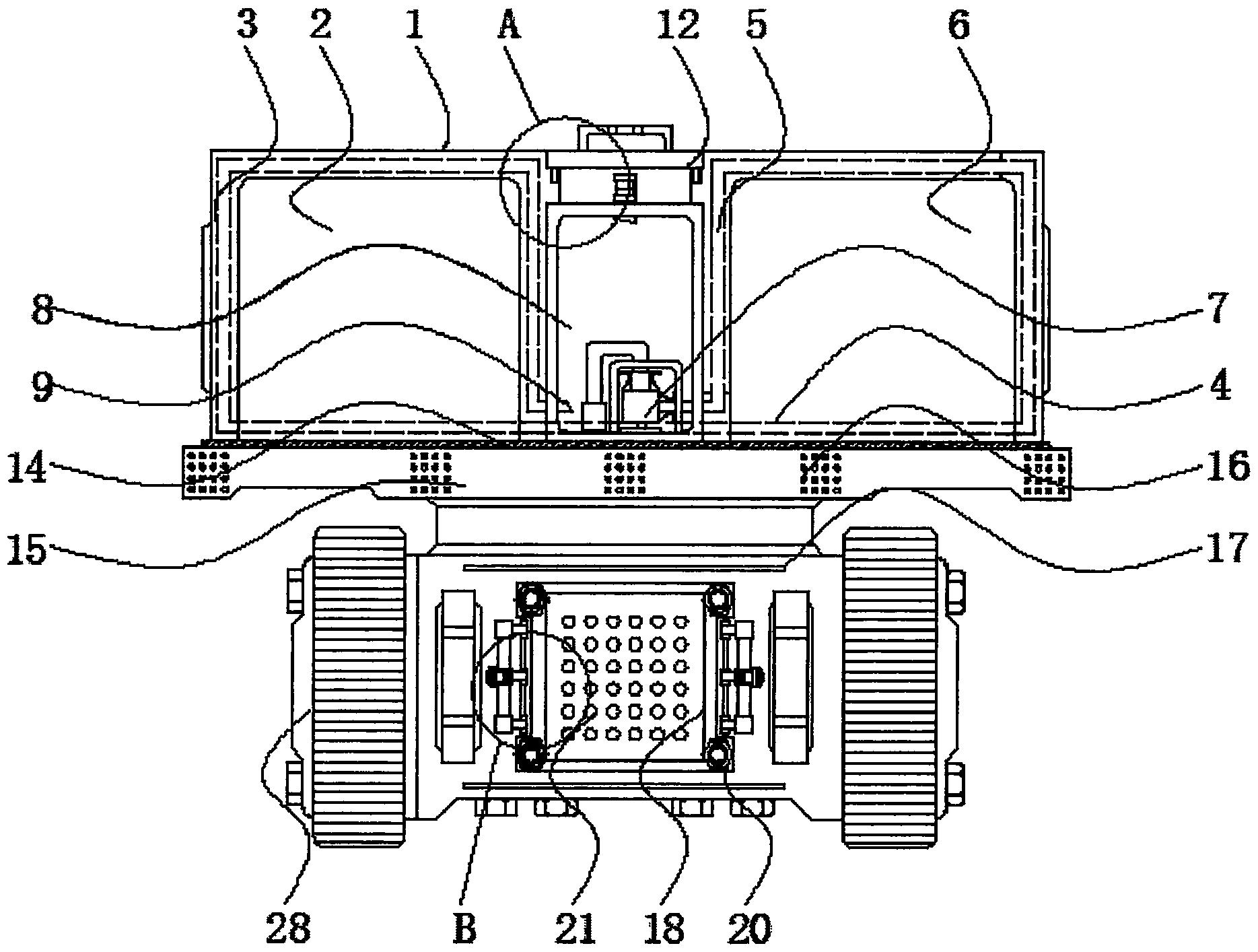
本发明涉及一种智能救援装置,包括置物顶座和后置物室,所述置物顶座内部的左端设置有前置物室,且前置物室的外壁衔接有前导流水管,所述前导流水管的底端连接有横连水管,且横连水管的右侧安置有后导流水管,所述后置物室的左下侧安装有水泵,且后置物室位于置物顶座右侧的内部。本发明的有益效果是:设置有副卡座和插销衔接槽的设置,通过拨动推动座,即可带动衔接滑盘与插销进行位移,从而使得插销得以安插进插销衔接槽内,从而将主卡座与副卡座牢牢的衔接在一起,进而便于来同时调控主卡座和副卡座,方便同时打开多个密封板条,便于快速的取拿储物室内的物质。

返回首页 | 品牌大全 | 品牌排行 | 品牌问答 | 品牌资讯 | 品牌价值 | 关于我们 | 联系我们 | 免责声明

Copyright 2013-2020 品牌门户,牌子123(www.paizi123.cn) 版权所有 备案号:苏ICP备13009020号-7

网站地图