专利状态
一种水轮机主轴密封装置
专利申请进度
申请
2021-09-10
授权
2022-02-01
预估到期
2031-09-10
专利基础信息
申请号 申请日
授权公布号 授权公告日
分类号
分类
申请人名称 洪雅力达水力发电设备有限责任公司
申请人地址
专利法律状态
  • 2022-02-01
    授权
    状态信息
    授权
摘要
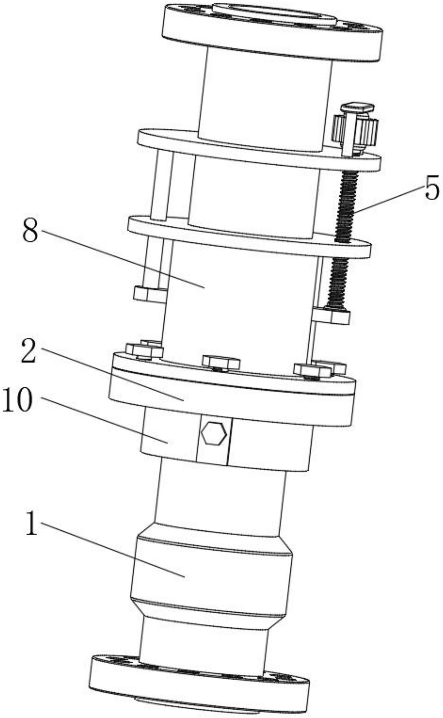
本实用新型提供一种水轮机主轴密封装置,涉及水轮机主轴密封技术领域,包括轴体,轴体的外表面套设有密封圈,轴体的外表面固装有安装环,轴体的外表面装有安装块,安装块的数量为两组,一组安装块的上表面转动连接有螺纹杆,螺纹杆贯穿安装环的下表面并延伸至安装环的上表面。本实用新型,通过设置轴体、密封圈、安装环、安装块、螺纹杆、伺服电机、限位杆、固定套和固定螺栓,实现了对水轮机主轴进行密封的功能,改变了水轮机主轴的密封方式,提升了密封装置的密封效果,可以防止水渗漏到机坑内,防止水淹没水导轴承,避免破坏水导轴承的工作,使得水轮机可以的安全稳定运行,避免工作事故发生。

返回首页 | 品牌大全 | 品牌排行 | 品牌问答 | 品牌资讯 | 品牌价值 | 关于我们 | 联系我们 | 免责声明

Copyright 2013-2020 品牌门户,牌子123(www.paizi123.cn) 版权所有 备案号:苏ICP备13009020号-7

网站地图