专利状态
一种造纸用搅拌式废纸除渣制浆机
专利申请进度
申请
2021-06-25
授权
2021-11-19
预估到期
2031-06-25
专利基础信息
申请号 申请日
授权公布号 授权公告日
分类号
分类
申请人名称 河南华兴纸业有限公司
申请人地址
专利法律状态
  • 2021-11-19
    授权
    状态信息
    授权
摘要
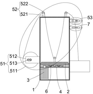
本实用新型公开了一种造纸用搅拌式废纸除渣制浆机,包括机壳、刀盘、第一电动机、安装座和除渣机构,安装座水平且密封设置在机壳内,刀盘通过推力球轴承转动安装在安装座内,第一电动机安装在机壳内,第一电动机的输出端竖直朝上穿过安装座驱动刀盘转动,除渣机构安装在机壳上,除渣机构的部分位于机壳内部且挂集浆液内的渣质。该搅拌式废纸除渣制浆机制浆机上设置除渣机构,除渣机构上的除渣绞绳会在制浆机的内部形成V型结构,增大了除渣绞绳与转动纸浆的接触,提高了除渣绞绳的除渣效果,另外该除渣机构还可以持续向制浆机内供给除渣绞绳,收放方便,提高工作效率和纸浆质量。

返回首页 | 品牌大全 | 品牌排行 | 品牌问答 | 品牌资讯 | 品牌价值 | 关于我们 | 联系我们 | 免责声明

Copyright 2013-2020 品牌门户,牌子123(www.paizi123.cn) 版权所有 备案号:苏ICP备13009020号-7

网站地图