专利状态
一种空气循环制冷系统
专利申请进度
申请
2013-08-19
申请公布
2013-12-04
授权
2016-08-10
预估到期
2033-08-19
专利基础信息
申请号 申请日
授权公布号 授权公告日
分类号
分类
申请人名称 宁波佳必可食品有限公司
申请人地址
专利法律状态
  • 2016-08-10
    授权
    状态信息
    授权
  • 2013-12-25
    实质审查的生效
    状态信息
    实质审查的生效IPC(主分类):F24F 5/00申请日:20130819
  • 2013-12-04
    公布
    状态信息
    公开
摘要
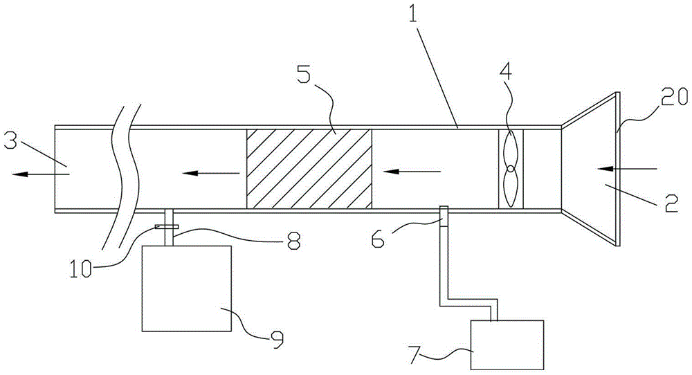
本发明公开了一种空气循环制冷系统,包括供空气通过的通气管道,所述通气管道包括进口端和出口端,还包括挡块,在所述挡块外侧设置呈螺旋形分布的凹槽,所述挡块设置于所述通气管道内且与所述通气管道内壁紧密贴合,所述通气管道靠近所述进口端设置风机,所述通气管道靠近所述风机位置连通喷头,所述喷头通过管体连接水箱。本发明能耗低的同时满足了对车间降温的需求,有效减少了对车间降温的成本。

返回首页 | 品牌大全 | 品牌排行 | 品牌问答 | 品牌资讯 | 品牌价值 | 关于我们 | 联系我们 | 免责声明

Copyright 2013-2020 品牌门户,牌子123(www.paizi123.cn) 版权所有 备案号:苏ICP备13009020号-7

网站地图