专利状态
一种竹条弯曲设备
专利申请进度
申请
2021-06-08
授权
2023-02-28
预估到期
2031-06-08
专利基础信息
申请号 申请日
授权公布号 授权公告日
分类号
分类
申请人名称 龙竹科技集团股份有限公司
申请人地址
专利法律状态
  • 2023-02-28
    授权
    状态信息
    授权
摘要
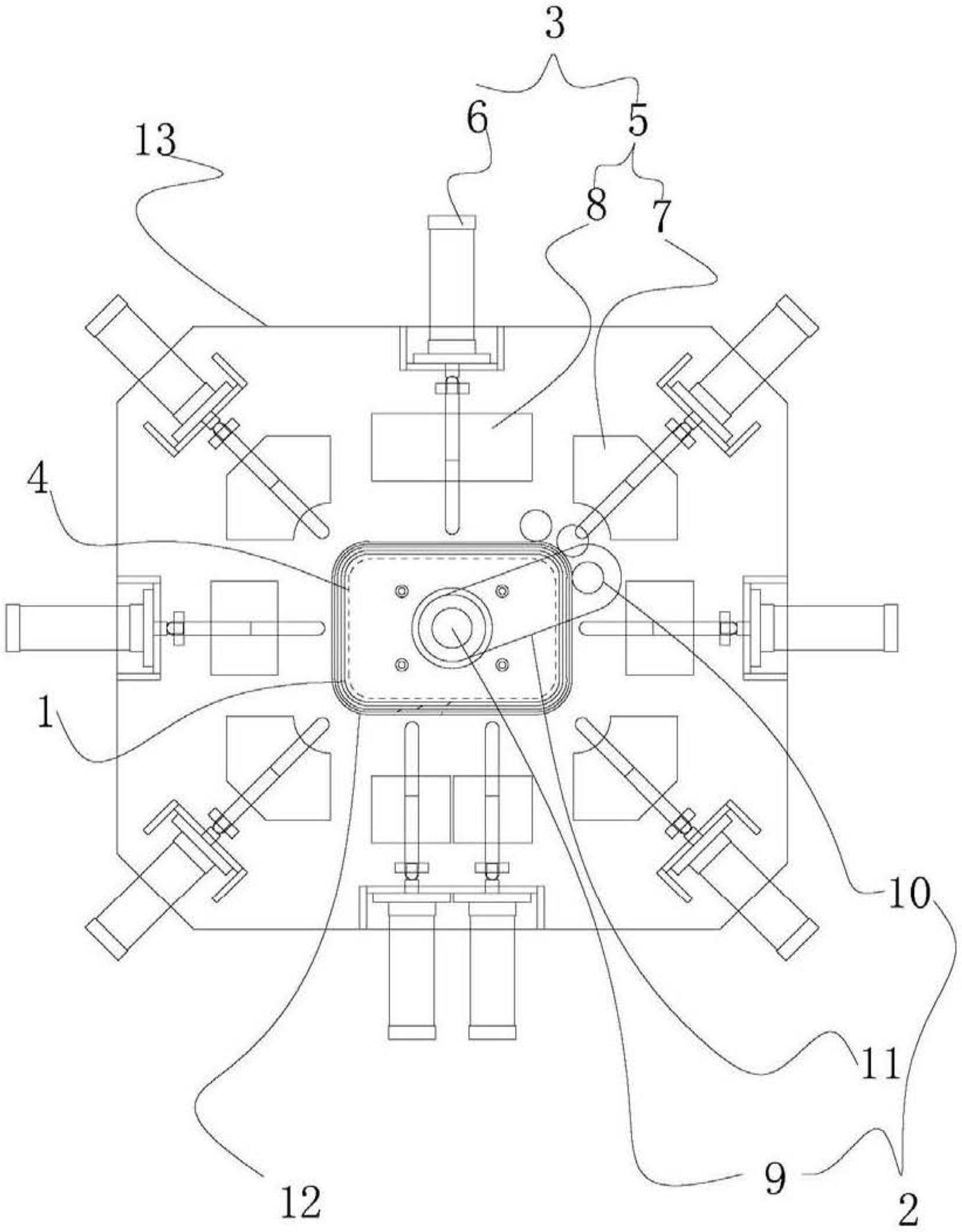
本实用新型提供了一种竹条弯曲设备,属于竹材加工技术领域。它解决了现有竹材加工设备容易造成竹片开裂等问题,一种竹条弯曲设备,包括机架,机架上设置有定膜和能够环绕定膜运动的滚压装置,滚压装置用于使竹条弯曲并抵靠在定膜的周壁上,机架还设置有紧固装置和加热装置,紧固装置分布于定膜的外侧,紧固装置用于压紧竹条,加热装置用于加热竹条使其胶合。本实用新型可直接处理长竹片,定型简单方便,定型效果好。

返回首页 | 品牌大全 | 品牌排行 | 品牌问答 | 品牌资讯 | 品牌价值 | 关于我们 | 联系我们 | 免责声明

Copyright 2013-2020 品牌门户,牌子123(www.paizi123.cn) 版权所有 备案号:苏ICP备13009020号-7

网站地图