专利状态
一种竹条弯曲成型设备
专利申请进度
申请
2021-06-08
授权
2023-03-14
预估到期
2031-06-08
专利基础信息
申请号 申请日
授权公布号 授权公告日
分类号
分类
申请人名称 龙竹科技集团股份有限公司
申请人地址
专利法律状态
  • 2023-03-14
    授权
    状态信息
    授权
摘要
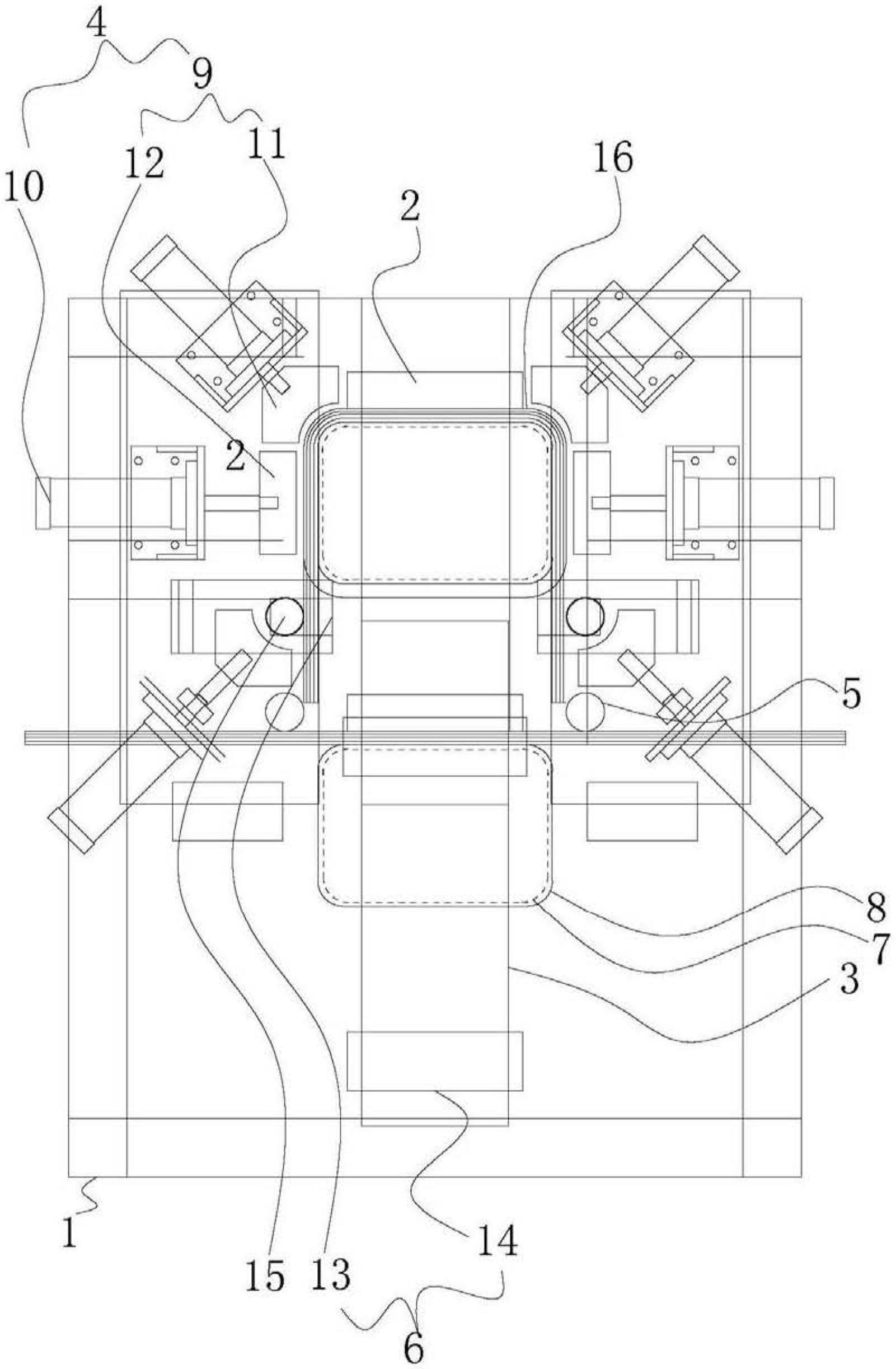
本实用新型提供了一种竹条弯曲成型设备,属于竹材加工技术领域。它解决了现有竹材加工设备容易造成竹片开裂等问题,一种竹条弯曲成型设备,包括机架,机架上设置有固定板和推进装置,推进装置用于推动竹条直至竹条抵靠于固定板上,机架上还设置有紧固装置和弯曲装置,弯曲装置位于推进装置运动轨迹的两侧,弯曲装置用于使竹条弯曲,紧固装置分布于推进装置运动轨迹的外侧,紧固装置用于待竹条弯曲后压紧竹条,机架还设置有封口装置和加热装置,封口装置位于固定板对面一侧,封口装置用于使竹条的两端对接并形成密闭结构,加热装置用于加热竹条使其胶合。本实用新型可直接处理长竹片,定型简单方便。

返回首页 | 品牌大全 | 品牌排行 | 品牌问答 | 品牌资讯 | 品牌价值 | 关于我们 | 联系我们 | 免责声明

Copyright 2013-2020 品牌门户,牌子123(www.paizi123.cn) 版权所有 备案号:苏ICP备13009020号-7

网站地图