专利状态
一种免压接型光纤活动连接器
专利申请进度
申请
2023-02-10
授权
2023-05-02
预估到期
2033-02-10
专利基础信息
申请号 申请日
授权公布号 授权公告日
分类号
分类
申请人名称 义博通信设备集团股份有限公司
申请人地址
专利法律状态
  • 2024-02-13
    专利权质押登记、变更及注销
    状态信息
    专利权质押登记;IPC(主分类):G02B6/38;登记号:Y2024980002774;登记日:20240124;出质人:义博通信设备集团股份有限公司;质权人:中国银行股份有限公司沧州分行;实用新型名称:一种免压接型光纤活动连接器;申请日:20230210;授权公告日:20230502
  • 2023-05-02
    授权
    状态信息
    授权
摘要
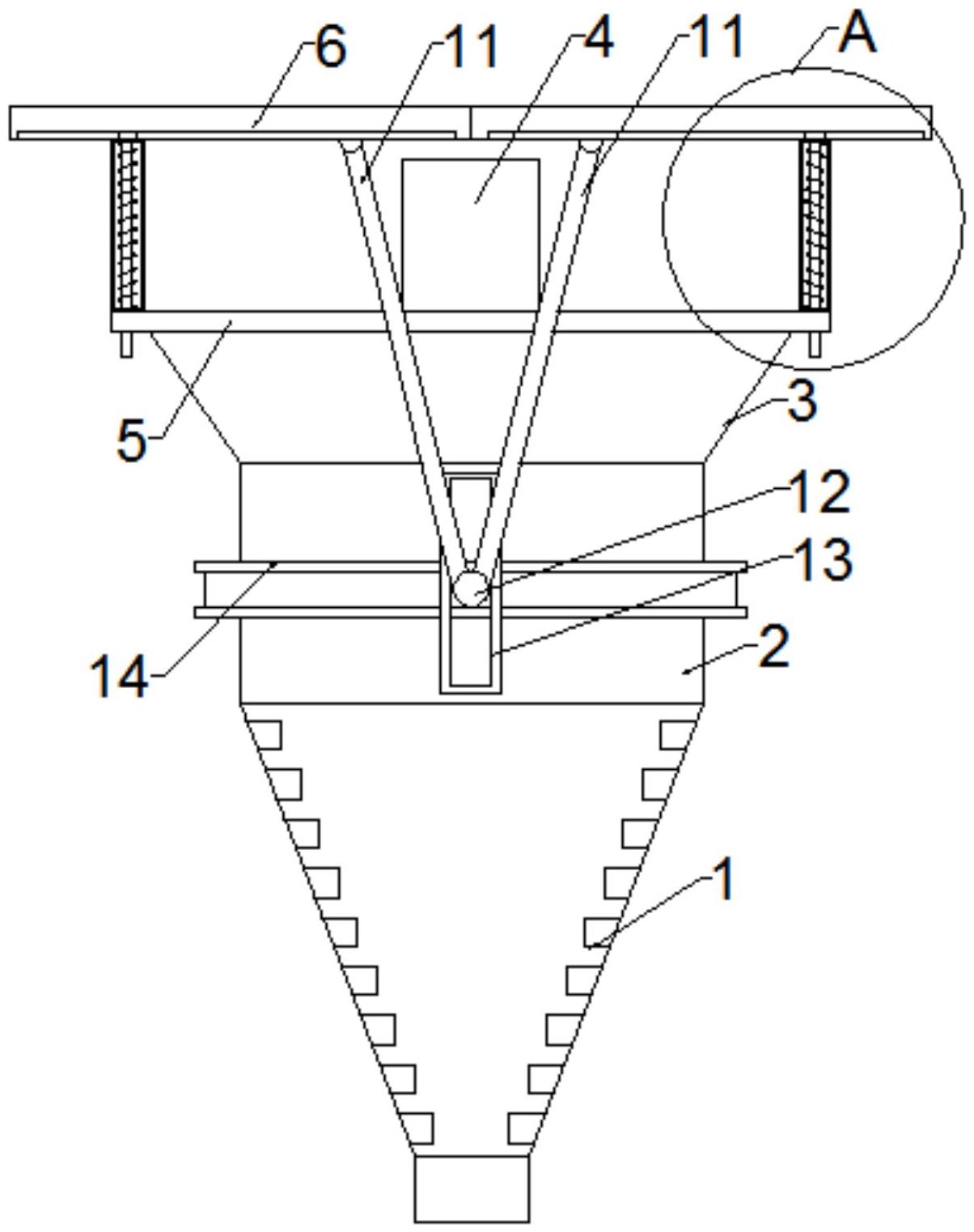
本实用新型公开了一种免压接型光纤活动连接器,属于光纤活动连接器技术领域,包括防裂管、支撑管、连接块、连接头和支撑板,还包括:弹性防护组件,所述弹性防护组件设于所述支撑板上端;滑动盖,所述滑动盖对称设于所述弹性防护组件上端的左右两侧,且与所述弹性防护组件滑动连接;升降组件,所述升降组件与所述支撑管连接,且与所述滑动盖之间通过传动组件连接;本实用新型通过设有弹性防护组件和滑动盖的配合使用,可在不使用时,将所述连接头保护在弹性防护组件和滑动盖内,避免所述连接头上沾染灰尘,也避免所述连接头被撞击损毁。

返回首页 | 品牌大全 | 品牌排行 | 品牌问答 | 品牌资讯 | 品牌价值 | 关于我们 | 联系我们 | 免责声明

Copyright 2013-2020 品牌门户,牌子123(www.paizi123.cn) 版权所有 备案号:苏ICP备13009020号-7

网站地图