专利状态
一种地源热泵用防堵塞换热器
专利申请进度
申请
2021-10-05
授权
2022-04-26
预估到期
2031-10-05
专利基础信息
申请号 申请日
授权公布号 授权公告日
分类号
分类
申请人名称 山东中科蓝天科技有限公司
申请人地址
专利法律状态
  • 2022-04-26
    授权
    状态信息
    授权
摘要
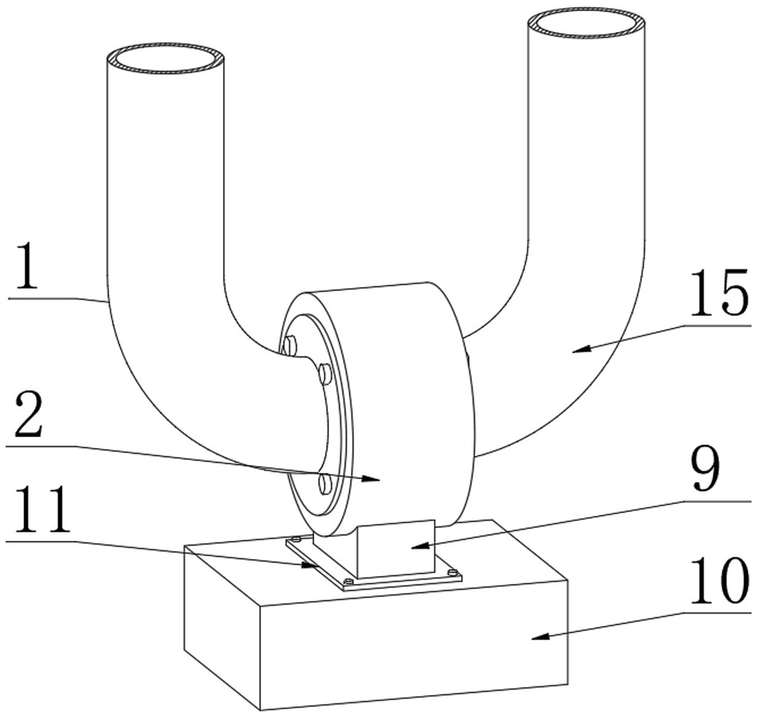
本实用新型公开了一种地源热泵用防堵塞换热器,包括第一弯管和第二弯管,所述第一弯管和第二弯管之间设有一个壳体,所述壳体内部固定设有滤网板,所述滤网板一侧设有转杆,且所述转杆一端与滤网板一侧通过轴承活动连接,所述转杆外端固定设有刮板,所述刮板一侧与滤网板一侧相接触,所述转杆外端固定设有叶轮。本实用新型通过滤网板对流进壳体中的介质进行过滤,根据叶轮的结构特性,介质在壳体中流动时会使得叶轮旋转,叶轮旋转时通过转杆带动刮板一起转动并通过刮板将叶轮上附着的杂质刮落,介质中的杂质被滤网板有效过滤并且不会堆积在一起导致第一弯管和第二弯管被堵塞住,极大的提高了换热器的使用效果。

返回首页 | 品牌大全 | 品牌排行 | 品牌问答 | 品牌资讯 | 品牌价值 | 关于我们 | 联系我们 | 免责声明

Copyright 2013-2020 品牌门户,牌子123(www.paizi123.cn) 版权所有 备案号:苏ICP备13009020号-7

网站地图