专利状态
一种防摔落的壁挂式太阳能热水器
专利申请进度
申请
2021-12-06
授权
2022-06-17
预估到期
2031-12-06
专利基础信息
申请号 申请日
授权公布号 授权公告日
分类号
分类
申请人名称 山东中科蓝天科技有限公司
申请人地址
专利法律状态
  • 2023-10-27
    专利权质押合同登记的生效、变更及注销
    状态信息
    专利权质押合同登记的注销;IPC(主分类):F24S 10/50;授权公告日:20220617;申请日:20211206;专利号:ZL2021230270289;登记号:Y2022980016281;出质人:山东中科蓝天科技有限公司;质权人:山东滕州农村商业银行股份有限公司;解除日:20231010
  • 2022-10-18
    专利权质押合同登记的生效、变更及注销
    状态信息
    专利权质押合同登记的生效;IPC(主分类):F24S10/50;登记号:Y2022980016281;登记生效日:20220927;出质人:山东中科蓝天科技有限公司;质权人:山东滕州农村商业银行股份有限公司;实用新型名称:一种防摔落的壁挂式太阳能热水器;申请日:20211206;授权公告日:20220617
  • 2022-06-17
    授权
    状态信息
    授权
摘要
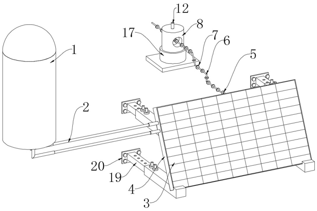
本实用新型公开了一种防摔落的壁挂式太阳能热水器,具体涉及太阳能热水器技术领域,包括集水箱、两个水管和集热板,两个所述水管均安装在集水箱与集热板之间,所述集热板底部和背后均设有安装机构,所述集热板外端固定设有安装框,所述安装框的顶部中间位置固定设有连接环,所述连接环上栓有第一连接绳,所述第一连接绳外端固定设有多个凸块。本实用新型通过利用固定螺栓将底座安装在阳台上,并通过螺纹将安装在底座内部,并利用第一连接绳牵制住安装框和集热板,即使后面伸缩支架发生锈蚀断裂,第一连接绳也会牵拉住集热板避免集热板摔落,从而能够避免对集热板造成损坏,也能避免摔落的集热板砸伤过往的行人,提高安全性。

返回首页 | 品牌大全 | 品牌排行 | 品牌问答 | 品牌资讯 | 品牌价值 | 关于我们 | 联系我们 | 免责声明

Copyright 2013-2020 品牌门户,牌子123(www.paizi123.cn) 版权所有 备案号:苏ICP备13009020号-7

网站地图