专利状态
烹饪用承托装置及空气炸锅
专利申请进度
申请
2021-06-02
授权
2022-01-21
预估到期
2031-06-02
专利基础信息
申请号 申请日
授权公布号 授权公告日
分类号
分类
申请人名称 佛山市纽维福家用电器有限公司
申请人地址
专利法律状态
  • 2022-01-21
    授权
    状态信息
    授权
摘要
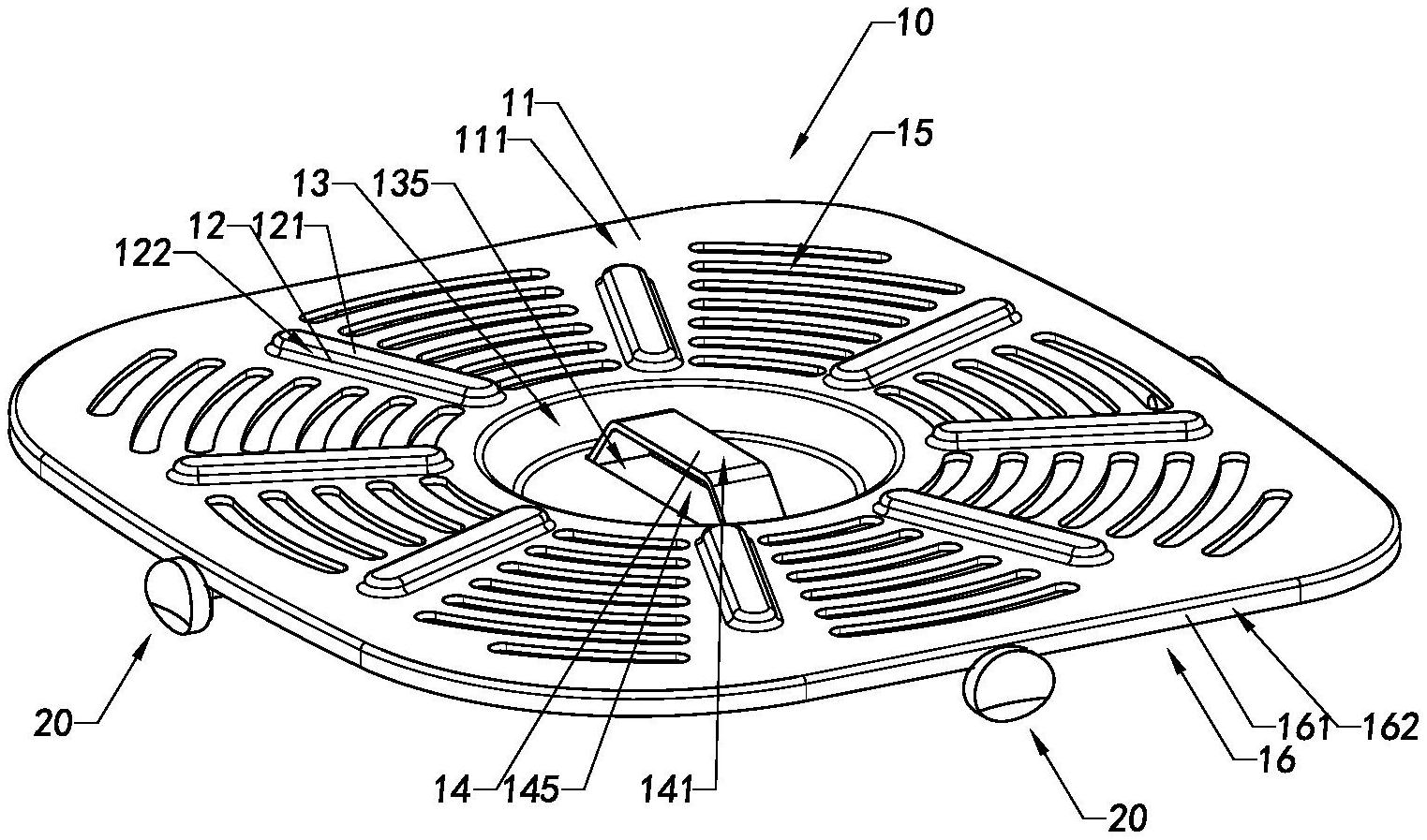
本发明提供一烹饪用承托装置,所述烹饪用承托装置适用于空气炸锅,所述烹饪用承托装置包括一承载单元与多个支撑单元,其优点在于所述支撑单元能稳定支撑固定所述承载单元,使本发明整体不易晃动,并且在烹炸食物后,所述支撑单元会因受热变形,能够使所述烹饪用承托装置更加牢固地固定于空气炸锅之中。

返回首页 | 品牌大全 | 品牌排行 | 品牌问答 | 品牌资讯 | 品牌价值 | 关于我们 | 联系我们 | 免责声明

Copyright 2013-2020 品牌门户,牌子123(www.paizi123.cn) 版权所有 备案号:苏ICP备13009020号-7

网站地图