专利状态
一种基于厨具生产的等离子切割机枪头
专利申请进度
申请
2020-03-31
授权
2020-11-17
预估到期
2030-03-31
专利基础信息
申请号 申请日
授权公布号 授权公告日
分类号
分类
申请人名称 洛阳天久厨具有限公司
申请人地址
专利法律状态
  • 2020-11-17
    授权
    状态信息
    授权
摘要
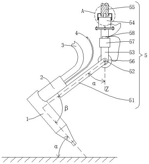
本实用新型公开了一种基于厨具生产的等离子切割机枪头,包括枪头本体,所述枪头本体上固定安装有带显示功能的万向节;所述带显示功能的万向节包括两根通过转轴旋转连接的旋转杆、两个角度传感器以及安装杆。有益效果在于:本实用新型所述的等离子切割机枪头安装有带显示功能的万向节,在动态调整枪头本体的过程中能够实时显示枪头本体的倾斜角度,操作者可一边观察显示数值,一边调整枪头本体,故而短时间即可将枪头本体调整到设定的倾斜角度值,整个操作过程简单方便,省时省力,而且角度数据精准可靠,误差小,可有效满足厨具精准加工的设计要求,实用性好。  

返回首页 | 品牌大全 | 品牌排行 | 品牌问答 | 品牌资讯 | 品牌价值 | 关于我们 | 联系我们 | 免责声明

Copyright 2013-2020 品牌门户,牌子123(www.paizi123.cn) 版权所有 备案号:苏ICP备13009020号-7

网站地图