专利状态
一种可快速出料的锅具生产用卷边装置
专利申请进度
申请
2022-06-20
授权
2023-01-17
预估到期
2032-06-20
专利基础信息
申请号 申请日
授权公布号 授权公告日
分类号
分类
申请人名称 洛阳天久厨具有限公司
申请人地址
专利法律状态
  • 2023-01-17
    授权
    状态信息
    授权
摘要
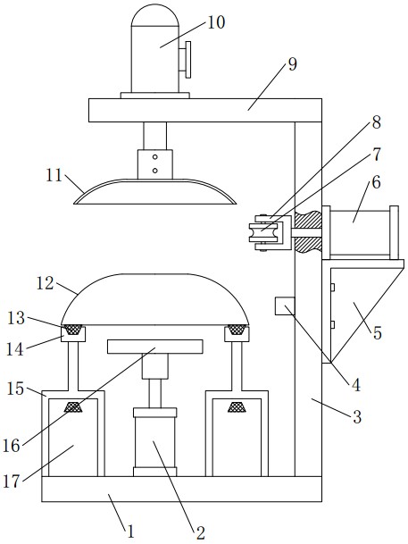
本实用新型公开了一种可快速出料的锅具生产用卷边装置,包括底座,底座的上表面一侧位置固定安装有立板,立板的顶部固定连接有水平的横板,在底座与横板之间的位置上设有用以对锅具进行传送的V型带,V型带设置有两条,两条V型带相互平行且之间留有间隙,底座的上表面两侧位置安装有支撑架,支撑架的顶部设有相互平行的导向杆,导向杆与V型带相互平行,在导向杆的上表面沿长度方向开设有V型槽,V型带滑动连接在V型槽内,本实用新型结构设计简单、使用便捷,利用传送带带动锅具移动至卷边轮处,在进行卷边工作时,可以利用气缸替代人工拿取锅具的方式,具有自动化程度高、效率高的优点,且提高了工作时的安全系数。

返回首页 | 品牌大全 | 品牌排行 | 品牌问答 | 品牌资讯 | 品牌价值 | 关于我们 | 联系我们 | 免责声明

Copyright 2013-2020 品牌门户,牌子123(www.paizi123.cn) 版权所有 备案号:苏ICP备13009020号-7

网站地图