专利状态
一种可调节角度的平底锅锅盖
专利申请进度
申请
2020-03-26
授权
2020-11-17
预估到期
2030-03-26
专利基础信息
申请号 申请日
授权公布号 授权公告日
分类号
分类
申请人名称 洛阳天久厨具有限公司
申请人地址
专利法律状态
  • 2020-11-17
    授权
    状态信息
    授权
摘要
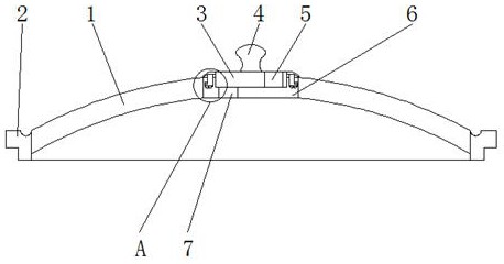
本实用新型公开了一种可调节角度的平底锅锅盖,包括锅盖,所述锅盖设置为玻璃材质,且锅盖中心设有通孔,且通孔中嵌合有第二固定块,并且第二固定块上设有第二透气孔,所述第二固定块上端中心设有凹槽,且凹槽中穿插有相吻合的第一固定块,并且第一固定块顶端中心固定连接有把手,所述第一固定块上设有第一透气孔。该可调节角度的平底锅锅盖设有第一固定块,第一固定块通过防护壳体作用于固定板与第二固定块构成旋转结构,此结构能对第一固定块的角度进行调节从而达到对第一透气孔位置的调节,让第一透气孔随着第一固定块的活动而与第二透气孔平行,第一透气孔的位置调节直接影响了平底锅的排气和排热量,使锅盖的使用效果更好。  

返回首页 | 品牌大全 | 品牌排行 | 品牌问答 | 品牌资讯 | 品牌价值 | 关于我们 | 联系我们 | 免责声明

Copyright 2013-2020 品牌门户,牌子123(www.paizi123.cn) 版权所有 备案号:苏ICP备13009020号-7

网站地图