专利状态
一种方便滤油的平底锅
专利申请进度
申请
2022-05-13
授权
2022-11-01
预估到期
2032-05-13
专利基础信息
申请号 申请日
授权公布号 授权公告日
分类号
分类
申请人名称 洛阳天久厨具有限公司
申请人地址
专利法律状态
  • 2022-11-01
    授权
    状态信息
    授权
摘要
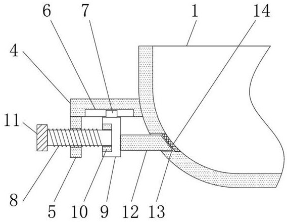
本实用新型公开了一种方便滤油的平底锅,包括锅体,所述锅体一端固定连接有把手,所述锅体远离把手一端的顶部固定连接有托块,且锅体表面固定连接有固定架,所述固定架底部的边缘处固定连接有固定环,且固定架底部内开设有滑槽,滑槽内连接有滑块,固定环内侧连接有调节杆,滑块底部固定连接有传动块,传动块靠近固定环一侧内固定嵌设有轴承。该方便滤油的平底锅通过设置多组排油孔将锅体内的油液排出,通过过滤网对油液具有过滤功能,通过转动调节杆可实现传动块及多组密封块的同步平移,密封块对排油孔具有密封作用,该方便滤油的平底锅结构合理,操作简单,可快速的将锅体内多余油液倒出,保证了食物的烹饪品质,便于使用,实用性高。

返回首页 | 品牌大全 | 品牌排行 | 品牌问答 | 品牌资讯 | 品牌价值 | 关于我们 | 联系我们 | 免责声明

Copyright 2013-2020 品牌门户,牌子123(www.paizi123.cn) 版权所有 备案号:苏ICP备13009020号-7

网站地图