专利状态
一种葡萄及葡萄皮渣进料装置
专利申请进度
申请
2022-06-22
授权
2023-02-03
预估到期
2032-06-22
专利基础信息
申请号 申请日
授权公布号 授权公告日
分类号
分类
申请人名称 山西怡园酒庄有限公司
申请人地址
专利法律状态
  • 2023-02-03
    授权
    状态信息
    授权
摘要
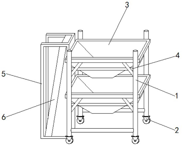
本实用新型涉及一种葡萄及葡萄皮渣进料装置,包括框架,所述框架的底部固定安装有方向轮,所述框架的内部活动安装有两个送料斗,所述框架的内部且位于送料斗的下方活动安装有支撑机构。该葡萄及葡萄皮渣进料装置,通过设置框架,在进行葡萄及葡萄皮渣上料的时候,将框架移动至上料区域,将葡萄及葡萄皮渣皮送入到送料斗的内部,在送料斗上满料之后,通过叉车推动框架至葡萄加工设备处,将送料斗对准葡萄加工设备的进料口,打开送料斗之后将原料送入到加工设备的内部,这种方式不采用泵或者管道进行输送,避免了相互挤压造成外皮破碎的情况发生,同时不会出现堵塞管道的情况,使得葡萄及葡萄皮渣的上料更加方便快捷,不易破碎。

返回首页 | 品牌大全 | 品牌排行 | 品牌问答 | 品牌资讯 | 品牌价值 | 关于我们 | 联系我们 | 免责声明

Copyright 2013-2020 品牌门户,牌子123(www.paizi123.cn) 版权所有 备案号:苏ICP备13009020号-7

网站地图