专利状态
一种厨房用挂架
专利申请进度
申请
2015-12-23
授权
2016-06-08
预估到期
2025-12-23
专利基础信息
申请号 申请日
授权公布号 授权公告日
分类号
分类
申请人名称 浙江福兰特有限公司
申请人地址
专利法律状态
  • 2016-06-08
    授权
    状态信息
    授权
摘要
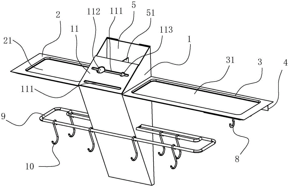
一种厨房用挂架,包括挂架主体,挂架主体包括刀架、左置物板和右置物板,刀架的上端面呈向前并向下倾斜的斜面,左置物板和右置物板分别固定在刀架的上端左右两侧,刀架、左置物板和右置物板的后端设有与墙体固定的挂片,刀架的上端前部设有刀座,刀座上设有刀具插置的插孔,刀架的上端后部可脱卸地设有筷笼,左置物板和右置物板的下端设有供挂第一钩挂置并滑动的导轨,在刀架的中下部还穿置有一设有多个第二挂钩并可供锅盖搁置的双排挂杆。本实用新型结构紧凑、挂点丰富、收纳能力强,可满足厨房的需求,组成材料为不锈钢材料和不锈钢线材,干净卫生,易于打理,整体结构呈倒三角形,稳定可靠,同时结构上又能便于快速拿取,互不干扰。

返回首页 | 品牌大全 | 品牌排行 | 品牌问答 | 品牌资讯 | 品牌价值 | 关于我们 | 联系我们 | 免责声明

Copyright 2013-2020 品牌门户,牌子123(www.paizi123.cn) 版权所有 备案号:苏ICP备13009020号-7

网站地图